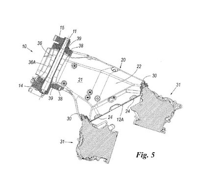
Most már biztos, hogy előbb-utóbb elbúcsúzhatunk a Ducati gyönyörű térhálós vázaitól. Az alábbi rajzok a szabadalmi hivatalból származnak: a blokk átveszi az eddigi konstrukció helyét, a futóművet mindössze csavarozott szerkezeti elemek tartják majd.
Gyári források szerint először a versenypályán találkozhatunk ezzel a kivitellel, ahol a villanyak konzollal kapcsolódik a hengerekhez. A lengővillát a váltó mögé csatolják majd, amelyet feltehetőleg karbonból formáznak meg.
Az ágazati pletykák szerint a tesztek már most is folynak, ám egy-két év még biztos kell ahhoz, hogy az elzárt gyári pályákról szemünk elé kerüljön a prototípus. Aki a hagyományos Ducati kialakítást kedveli, ne aggódjon: még sokáig gyönyörködhet a műtárgynak is megfelelő vázakban.
A desmodromikus vezérlésű sportgépek rajongói most figyeljenek: a BMW és KTM után a bolognaiak is bejelentették, hogy a 1098R-rel rajthoz állnak a man-szigeti Tourist Trophy-n. Pilótájuk Michael Rutter lesz. A kis cégek közül már csak az Aprilia hiányzik a legendás versenyről; ki tudja, talán hamarosan ők is bejelentkeznek az RSV4-gyel.










