Melegednek a GM akkumulátorai – most a Tetristől remélik a megoldást | Totalcar

Next Tc Logo

A megfelelő temperálás a villanyautók esetében is kulcsfontosságú összetevő, különösen az akkumulátor csomag kapcsán. Bár a dolog egyszerűnek hangzik, és több gyártó is sikerrel megoldotta már, a GM számára a több száz kilónyi, egymáshoz paszírozott cellát temperálni úgy látszik mégsem egyszerű feladat. 

Erre utal legalábbis a vállalat egyik mostanában benyújtott szabadalma, amelyben kifejtik, hogy jelenleg a cellák aljára helyezett hűtőpanelek segítségével próbálkoznak – elsősorban – a melegedés ellen. Neutronokon edzett villanyautósként azonban tudjuk, hogy a hatékony fűtés is hasonlóan fontos tényező, ha az akksi élettartamának megőrzése a cél, valamint a megfelelő hőmérsékletre prekondicionált akkumulátor a töltést is nagyobb tempóban képes felvenni. 

A GM jelenlegi - hűtőpaneles - megoldása korántsem tökéletes, mivel az akkumulátor egyes részein túl nagy hőmérséklet-különbség alakulhat ki, ami  felgyorsítja a degradációt - beszámolóik szerint

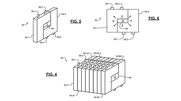
A mérnökök ezt a problémát Tetris-kockákra emlékeztető, asszimetrikus formájú cellák használatával oldanák meg a szabadalom szerint. Az L vagy éppen C alakú cellák előnye, hogy egymáshoz illesztve már kialakíthatók olyan járatok, amelyekben hűtőközeggel feltöltött csatornákat vezethetnek el, így tökéletesítve a temperálást. 

Nem újkeletű megoldás ez az akkumulátorok piacán, hiszen a telefongyártók előszeretettel építenek készülékeikbe L alakú cellákat, bár esetükben sokkal inkább a helykihasználás lehet az elsődleges cél.

Nem tudjuk, hogy a GM tényleg beveti-e a szabadalmat, ahogy azt sem, hogy a Tetriszezéssel sikerül-e megoldaniuk a problémát. Sokkal fontosabb kérdés viszont az, hogy miért tartanak még mindig itt, amikor más gyártók már rég megtalálták a stabil megoldást ugyanerre a problémára. 

Forrás: motor1.com