
Okos megoldással forradalmasítaná az elektromos terepjárókat a Stellantis
Egy újabb érdekes szabadalom.
Közzétéve:
2024. 02. 21. 18:58
Közzétéve:
2024. 02. 21. 18:58
Bár jelenleg nincs sok elektromos terepjáró a piacon (az SUV-kat ne vegyük ide), előbb-utóbb ezt a szektort is utoléri az elektromos átállás. Csakhogy, a terepezéshez egy direkt erre a célra készült sebességváltó is szükséges, ez azonban eddig hiányzott a legtöbb villanyautóból.
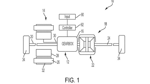
Az elektromos autók váltójában legtöbbször csupán egyetlen sebesség van, hiszen a villanymotor alacsony fordulaton is elérhető magas nyomatéka miatt alap esetben nincs szükség további fokozatokra. Bár ez jelentősen egyszerűbbé teszi egy villanyautó hajtásláncát, kemény terepen az egyetlen sebesség nem túl praktikus. Erre a problémára jelenthet megoldást a Stellantis új szabadalma, melyet már be is nyújtottak az illetékes amerikai hivatalnak.

Az ötlet egy olyan villanyautókba szánt váltóról szól, mely a normál használatra szánt 1:1-es arányú fokozat mellett egy kifejezetten terepezésre való 3:1 arányú fokozatot is tartalmaz. Ezzel a nehéz útviszonyok, meredek kaptatók vagy éppen sziklás területek leküzdése jelentősen könnyebb lehetne úgy, hogy közben a közúti használat során sem kell kompromisszumot kötni.
Külön érdekes, hogy a szabadalom szerint a váltó minkét fokozatához külön kuplung tartozik, így azok egymástól függetlenül léphetnek működésbe szükség esetén. Ez akár azt is lehetővé tenné, hogy a jármű külső kerekeit jelentősen gyorsabban forgatva szinte a saját tengelye körül megforduljon, ami áldásos képesség lehet egyes szituációkban.
Forrás: carbuzz.com