Megszokhattuk már, hogy a Ford folyton újabb és újabb autóipari szabadalmakat jegyeztet be, melyek között számos egészen furcsa is akad. Például jelen cikk alanya.
Nagy melegben, vagy éppen hidegben különösen fontos, hogy az autó légbefúvó rostélyai jól legyenek beállítva, ezzel szórakozni azonban elég pepecselős dolog. Szerencsére a Ford megtalálta a megoldást: egy olyan rendszert terveztek, mely automatikusan a sofőr és az utasok felé irányítja a levegőt.
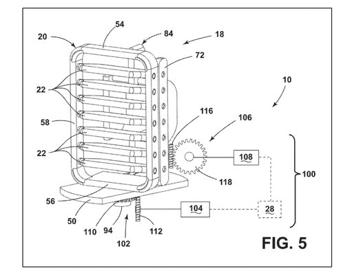
A szabadalom lelke egy arcfelismerővel felszerelt kamera, mely folyamatosan figyeli az utasok pozícióját, majd ennek megfelelően jeleket küld a szellőzőrostélyokat irányító motoroknak, amelyek irányba állítják a függőleges és vízszintes lamellákat.
Azért erős kétségeink vannak azt illetően, valóban szüksége van-e az autós társadalomnak erre a találmányra. A szellőzőrostélyok állítgatása nem egy megerőltető dolog, ráadásul sokan eleve nem szeretik, ha a befújt hideg vagy meleg levegő közvetlenül rájuk irányul. Ti mit gondoltok? Van létjogosultsága egy ilyen rendszernek, vagy csak eggyel több felesleges kütyü lenne az autóban, amit senki sem használ?
Forrás: theautopian.com









