A Kawasaki tavaly mutatta be a hibrid motorjának a tanulmányváltozatát, amihez most annyit tettek hozzá, hogy 2025-ig több mint 10 elektromos és/vagy hibrid motorkerékpárt kívánnak bemutatni. Ezek működésébe a japán cég legújabb szabadalmain keresztül nyerhetünk egy kis betekintést.
A már ismert tanulmányon a Ninja 400-ból ismerős kéthengeres motort támogatta meg egy 48 voltos villanymotor, és különböző menetmódok közül választhat a felhasználó - például van lehetőség kizárólag áramról is menni, vagy a kettővel együtt maximalizálni a teljesítményt. Ez egyébként ugyanaz a rendszer, amivel már több tucat hibridautó megbízhatóan működik, zökkenőmentesen váltva a hajtásmódok között.
Gyanítható, hogy az érkező típusoknak a nagyját erre a műszaki alapra húzzák fel, egyébként nem valószínű, hogy a semmiből elő tudnak állni új műszaki alappal három éven belül. Ez stratégiailag is jó megoldás, hiszen az autógyártók tapasztalaitai alapján tudjuk, hogy könnyebb bevezetni már létező típusok hibdid változatait, mint teljesen új modelleket és megoldásokat lefogadtatni a piaccal.
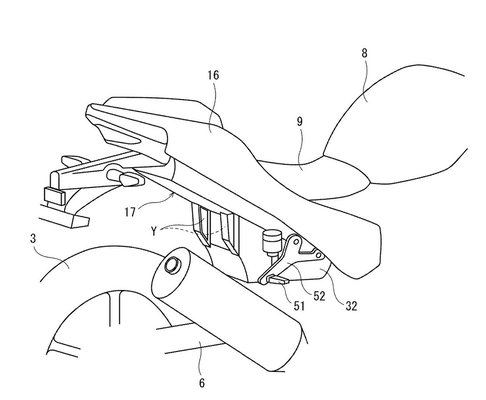
A szabadalmi rajzok alapján szinte biztosra vehetjük, hogy a tavalyi tanulmány szériaváltozata lesz az első hibrid Kawa, vagyis a Ninja 400/Z400 páros lesz az úttörő. Az akkupakk nagyjából akkora lesz, mint egy kisebb autó indítóakkumulátora, de a lítium-ion celláknak köszönhetően könnyebb és nagyobb kapacitású lesz. Ezt az ülés alá építik be.
A szabadalom nem csak az akkumulátor elhelyezésével, hanem a hűtésével is foglalkozik. A Kawasaki léghűtést használ, amely könnyebb, olcsóbb és kevésbé hatékony, mint a folyadékhűtéses megoldások. A levegőt az alsó burkolat felől terelik az akkupakkhoz, a hő pedig hátul távozik.
A másik szabadalom a villanymotor elhelyezésével foglalkozik, a Kawasaki a hatfokozatú váltó fölé építi be - ennek köszönhetően a belsőégésű használati élmény megmarad, illetve előrevetítik azt, hogy bármilyen, hasonló motor-váltó elrendezésű motorkerékpárnál bevethető lesz ez a megoldás.











![Der neue Mercedes-Benz C 400 4MATIC elektrisch. Energieverbrauch kombiniert: 18,6-14,2 kWh/100 km | CO₂-Emissionen kombiniert: 0 g/km | CO₂-Klasse: A [1] Exterieur: AMG Line; MANUFAKTUR opalithweiß metallic bright [1] Die Angaben sind vorläufig. Es liegen bislang weder bestätigte Werte von einer amtlich anerkannten Prüforganisation noch eine EG-Typgenehmigung noch eine Konformitätsbescheinigung mit amtlichen Werten vor. Abweichungen zwischen den Angaben und den amtlichen Werten sind möglich. //The all-new Mercedes-Benz C 400 4MATIC electric. Energy consumption combined: 18,6-14,2 kWh/100 km | CO₂ emissions combined: 0 g/km | CO₂ class: A [1] Exterior: AMG Line; MANUFAKTUR opalithe white bright [1] The information is provisional. Neither confirmed values from an officially recognised testing organisation nor an EC type approval nor a certificate of conformity with official values are available to date. Deviations between the data and the official values are possible.](/media/images/Original-50543-26c0043-001.format-jpeg.max-370x278.jpg)
