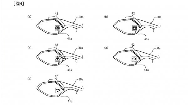
Radarszenzorokra épülő biztonsági csomagon dolgozik a Yamaha. Erről szabadalmi rajzok árulkodnak, amelyeken már a kidolgozás alatt álló rendszer egyes részletei is láthatók. A motoros számára hasznos információk a tükrök egyik csücskében jelennének meg – hasonlóan például az autóknál jól ismert holttérfigyelőhöz.
És ha már a holttérfigyelőt említettük, éppen ez lenne az egyik funkció, de emellett többek közt a ráfutásos balesetek veszélyére, a hátulról érkező, megkülönböztető jelzést használó járművekre, valamint a sebességhatárokra és azok túllépésére is figyelmeztetne a Yamaha-féle megoldás.
Ezeknél izgalmasabban hangzik a járművek közötti kommunikáció: ha egy másik motorkerékpár – vagy egy kiterjedt hálózat esetén akár éppen autó, teherautó – észlel valamilyen veszélyt, fennakadást, jelzi azt az adott útvonalon haladó többi közlekedő számára, így azok már felkészülten érkezhetnek meg az érintett szakaszra, vagy esetleg módosíthatják útvonalukat.
A hírek szerint a Yamaha egyelőre az R1-hez fejleszti ezt a biztonsági csomagot, de természetesen az sem kizárt, hogy eleve úgy alakítják ki, hogy viszonylag könnyen átültethető legyen más modellekre is.









