A Harley-Davidson egy automatizált vészfékrendszert szabadalmaztatott, mely segít elkerülni a balesetet azzal, hogy vészhelyzetben közbeavatkozik, és segít minimalizálni a fékutat. Tehát nem egy távolságtartó tempomat van, hanem egy szigorúan csak vészhelyzetben aktiválódó biztonsági rendszer.
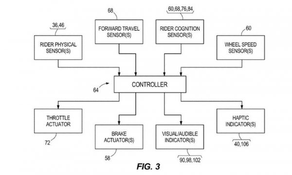
A vészfék-asszisztens több érzékelőt is használ, hogy el tudja dönteni, mikor kell közbeavatkozni, egyfelől figyeli a motor környezetét, illetve egy műszerfali kamerával nézi a motorost is, valamint az ülésbe és a markolatba épített érzékelőkkel is gyűjti az adatokat.
A motoros figyelésével azt ellenőrzi, hogy nyitva van-e a motoros szeme, vagy hogy melyik irányba néz, látja-e a kialakuló vészhelyzetet. A vészfékrendszer először csak figyelmeztető lámpával jelez, illetve haptikus és hangjelzést ad, és ha azokra sem reagál a vezető, akkor kezdi meg automatikusan a vészfékezést. A rendszer másik jellemzője, hogy képes felmérni, mekkora fékerő szükséges, hogy a motor az adott szakaszon megálljon, és ha a motoros nem maximumon fékez, hozzáteszi a hiányzó mennyiséget.










