Az elmúlt években alappá vált, hogy a motor reakcióit elektronikus rendszerek szűrik, a gázadástól a fékezésig minden átmegy egy számítógépen, a motorosnak már alig van közvetlen kapcsolata a mechanikával, és a Honda új szabadalma még tovább megy, a kormányzásba is bevonnák az elektronikát.
Az olyan kísérletetk, mint a Honda Riding Assist, a Yamaha MotoBot és Motoroid vagy a BMW önvezető GS prototípusa már igazolták, hogy egy számítógép is tökéletesen képes kezelni egy motorkerékpárt, sőt, akár még összetett feladatokra is képes, például körbenni egy versenypályán vagy egyhelyben egyensúlyozni. Ezzel párhuzamosan az önvezetés ha még nem is tökéletes, de már jelenlévő megoldás az autóknál, és a Honda az új szabadalmával ebbe az irányba tenne egy lépést a motorkerékpárokkal.
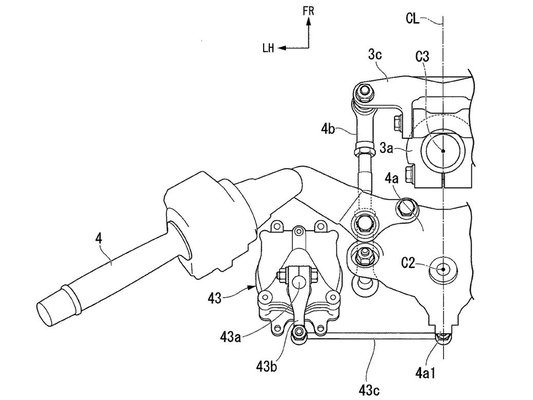
A szabadalomban egy olyan Gold Wing szerepel, amely aktív kormányzást kapott - a rendszer végső soron az adaptív kormánylengés-csillapítók továbbfejlesztésével született. A szabadalom bemutatja, hogy az elektronikusan vezérelt egységek hogyan kapcsolódnak a kormányműhöz, illetve hogyan működnek együtt a IMU-val. Így szükség esetén segítik a kormányzást, például javítva az egyenesfutást, ellentartani az oldalszélnek, vagy korrigálni egy megcsúszást, de elméletileg arra is alkalmas ez a megoldás, hogy a motor önvezető legyen.
A rendszer beavatkozásnál figyeli a motor mozgását, a kormányszöget, a kormányra ható nyomatékot, a fojtószelep állását, a fékerőt, a sebességet, a gyújtást, és ezekből az adatokból dolgozva dönti el, hogy szükség van-e beavatkozásra.
Ha az aktív kormányzást kombinálják a Bosch radaros rendszerével, akkor a sávtartó automatika előtt sincs már sok akadály, és onnantól már csak egy lépés a félig autonóm vezetés.








![Der neue Mercedes-Benz C 400 4MATIC elektrisch. Energieverbrauch kombiniert: 18,6-14,2 kWh/100 km | CO₂-Emissionen kombiniert: 0 g/km | CO₂-Klasse: A [1] Exterieur: AMG Line; MANUFAKTUR opalithweiß metallic bright [1] Die Angaben sind vorläufig. Es liegen bislang weder bestätigte Werte von einer amtlich anerkannten Prüforganisation noch eine EG-Typgenehmigung noch eine Konformitätsbescheinigung mit amtlichen Werten vor. Abweichungen zwischen den Angaben und den amtlichen Werten sind möglich. //The all-new Mercedes-Benz C 400 4MATIC electric. Energy consumption combined: 18,6-14,2 kWh/100 km | CO₂ emissions combined: 0 g/km | CO₂ class: A [1] Exterior: AMG Line; MANUFAKTUR opalithe white bright [1] The information is provisional. Neither confirmed values from an officially recognised testing organisation nor an EC type approval nor a certificate of conformity with official values are available to date. Deviations between the data and the official values are possible.](/media/images/Original-50543-26c0043-001.format-jpeg.max-370x278.jpg)
