A gyorsváltó nem is olyan régen még a pályamotorok sajátja volt, mostanra viszont már a túramotorokban is teljesen szokványos - mint kiderült, nem csak a köridőből segít századmásodperceket lefaragni, hanem a közúti használatot is kényelmesebbé és élvezetesebbé teszi. A Kawasaki éppen ezért egy újfajta gyorsváltón dolgozik, kimondottan utcai motorosok számára.
A gyorsváltók működése viszonylag egyszerű: érzékelik a váltókar mozgását, és egy ponton rövid időre megszakítják a gyújtást, ezzel egy pillanatra tehermentesítve a hajtást, és így akadálymentesen becsúszik a következő fokozat. A kétirányú gyorsváltók annyival tudnak többet, hogy a csúszókuplunggal együttműködve adnak hozzá egy kis gázfröccsöt is. A legjobb rendszereknél mindezek alacsony és magas fordulaton is simán működnek.
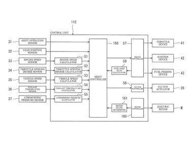
A Kawasaki ennél tovább menne, és a tökéletesen sima működést egy automatizált kuplunggal érnék el, melyben a kétirányú gyorsváltó szükség esetén együttműködik az automata kuplunggal. Tehát nagy fordulatnál pont úgy működne, mint az összes többi gyorsváltó, ott a sima kapcsoláshoz nincs szükség trükkre, de részterhelésen magától nyitja és zárja a kuplungot, hogy a lehető legsimább legyen a váltás, és az elektronika maga dönti el, hogy melyik módot választja. Ehhez figyelembe veszi a fordulatot, a váltófokozatot, a fojtószelep állását, váltó mozgását, a légköri nyomást és a hűtőfolyadék hőmérsékletét, és ezek alapján dönti el, hogy a váltáshoz szükséges-e nyitni a tengelykapcsolót, vagy csak elég elvenni a gyújtást egy pillanatra. Mindezt úgy, hogy a motoros észre sem veszi, hogy a motor helyette festett bele a kuplungba.
A Kawasaki az új gyorsváltót elképzelte villanymotorral párosítva is, vagyis már most készülnek arra, hogy a technológia felhasználható legyen a készülő hibrid modelljükben is, tehát tudja kezelni azt, ha a motor tisztán benzinnel, tisztán árammal, vagy a kettővel együtt hajt.








![Der neue Mercedes-Benz C 400 4MATIC elektrisch. Energieverbrauch kombiniert: 18,6-14,2 kWh/100 km | CO₂-Emissionen kombiniert: 0 g/km | CO₂-Klasse: A [1] Exterieur: AMG Line; MANUFAKTUR opalithweiß metallic bright [1] Die Angaben sind vorläufig. Es liegen bislang weder bestätigte Werte von einer amtlich anerkannten Prüforganisation noch eine EG-Typgenehmigung noch eine Konformitätsbescheinigung mit amtlichen Werten vor. Abweichungen zwischen den Angaben und den amtlichen Werten sind möglich. //The all-new Mercedes-Benz C 400 4MATIC electric. Energy consumption combined: 18,6-14,2 kWh/100 km | CO₂ emissions combined: 0 g/km | CO₂ class: A [1] Exterior: AMG Line; MANUFAKTUR opalithe white bright [1] The information is provisional. Neither confirmed values from an officially recognised testing organisation nor an EC type approval nor a certificate of conformity with official values are available to date. Deviations between the data and the official values are possible.](/media/images/Original-50543-26c0043-001.format-jpeg.max-370x278.jpg)


