A Kawasaki 2013 óta dédelgeti a háromkerekű motor ötletét, és azóta időről időre előállnak valamivel, ami jelzi, hogy nem küldték le a terveket az iratmegsemmisítőn. Az eddig csak Concept-J néven emlegetett háromkerekű most már szabadalmi rajzokon is megjelent.
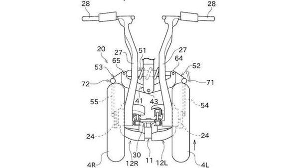
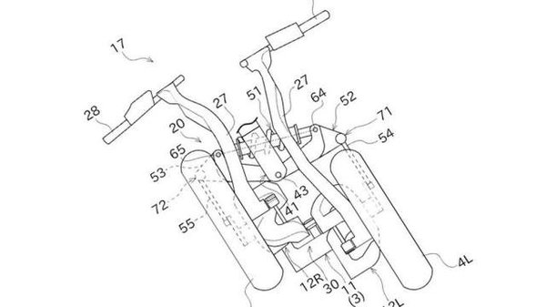
Nem a teljes motor látható, csak az első futómű, tehát ebből még nem lehet biztosan megmondani, hogy elektromos, hibrid, belsőégésű, váltós vagy automata lesz-e a jármű, csupán bemutatják, hogyan dőlne be a két első kerék a kanyarban.
Az látszik, hogy megoldásaiban hűen követi a tanulmányt, a két első kerék külön lengőkarokat kapott, viszont a két kerékhez egyetlen, keresztbe fektetettt rugóstag tartozik. A kerekek mondössze egyetlen ponton kapcsolódnak össze, a kormánytengelynél, azt leszámítva függetlenek.
A 2013-as Concept-J-hez képest a legnagyobb különbség, hogy a motor tengelytávja fix, nem változtatható úgy, ahogy azt 8 éve elképzelték.
Nem valószínű, hogy ez a konkrét modell valaha szériagyártásba kerülne, de bizonyos megoldásairól, például a futómű elrendezéséről azért el lehet képzelni, hogy a következő tíz évben egyszer csak megjelenik.







![Der neue Mercedes-Benz C 400 4MATIC elektrisch. Energieverbrauch kombiniert: 18,6-14,2 kWh/100 km | CO₂-Emissionen kombiniert: 0 g/km | CO₂-Klasse: A [1] Exterieur: AMG Line; MANUFAKTUR opalithweiß metallic bright [1] Die Angaben sind vorläufig. Es liegen bislang weder bestätigte Werte von einer amtlich anerkannten Prüforganisation noch eine EG-Typgenehmigung noch eine Konformitätsbescheinigung mit amtlichen Werten vor. Abweichungen zwischen den Angaben und den amtlichen Werten sind möglich. //The all-new Mercedes-Benz C 400 4MATIC electric. Energy consumption combined: 18,6-14,2 kWh/100 km | CO₂ emissions combined: 0 g/km | CO₂ class: A [1] Exterior: AMG Line; MANUFAKTUR opalithe white bright [1] The information is provisional. Neither confirmed values from an officially recognised testing organisation nor an EC type approval nor a certificate of conformity with official values are available to date. Deviations between the data and the official values are possible.](/media/images/Original-50543-26c0043-001.format-jpeg.max-370x278.jpg)


