A Kawasaki szabadalmaztatott egy rendszert, mellyel lényegében bármilyen motort át lehetne alakítani háromkerekűre - vagyis olyanra, mint a Yamaha Niken. Az eddigi elöl dupla kerekű, kanyarban bedőlő motorokhoz (pl. Niken, Tricity, Piaggio MP3) alaposan újra kellett gondolni a vázat és futóművet a kétkerekű rokonmodellekhez képest. A Yamaha például négy darab teleszkópszárat használ, a Piaggio két egykarú első futóművet épít egybe, a Kawasaki viszont egy minden eddiginél egyszerűbb megoldással állt elő, amely az eddigieknél közelebb ál a megszokott kétkerekű motorok megoldásához.
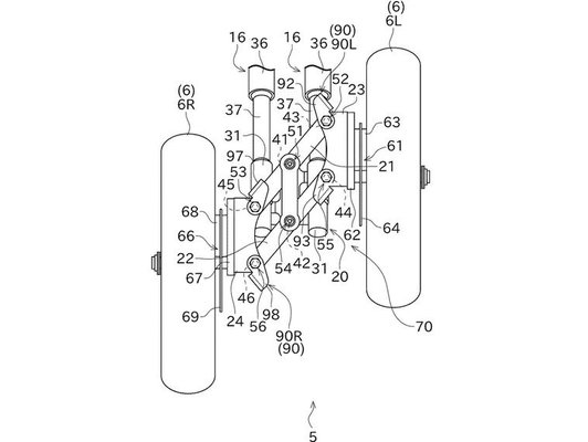
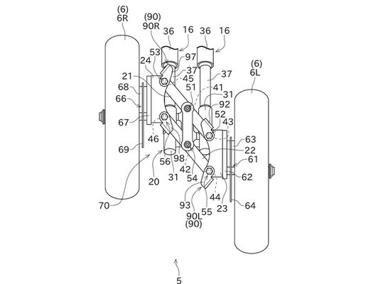
Az alapot egy teljesen átlagos első futómű adja, a teleszkópvilla alján van egyedül trükk: ezzel a megoldással az eredeti egy darab első kerék helyére felcsavarozható a dupla kerék, melyeket két párhuzamos kar köz össze, melyek közös tengelyen lévő csapja a két telószár közé esik, így biztosított, hogy kanyarban be tudjon dőlni.
Ez a megoldás sokkal egyszerűbb, mint az eddigiek közül bármelyik, viszont hátránya, hogy az összes eleme a rugózatlan tömeget növeli, cserébe olcsóbb és összességében könnyebb a többinél.
A Kawasaki egy ideje már érleli a háromkerekű projektet, sőt, tavaly év végén csendben elkészítettek egy háromkerekű, kanyarban bedőlő, elektromos rásegítéses cargo biciklit is, a Noslisu-t.








![Der neue Mercedes-Benz C 400 4MATIC elektrisch. Energieverbrauch kombiniert: 18,6-14,2 kWh/100 km | CO₂-Emissionen kombiniert: 0 g/km | CO₂-Klasse: A [1] Exterieur: AMG Line; MANUFAKTUR opalithweiß metallic bright [1] Die Angaben sind vorläufig. Es liegen bislang weder bestätigte Werte von einer amtlich anerkannten Prüforganisation noch eine EG-Typgenehmigung noch eine Konformitätsbescheinigung mit amtlichen Werten vor. Abweichungen zwischen den Angaben und den amtlichen Werten sind möglich. //The all-new Mercedes-Benz C 400 4MATIC electric. Energy consumption combined: 18,6-14,2 kWh/100 km | CO₂ emissions combined: 0 g/km | CO₂ class: A [1] Exterior: AMG Line; MANUFAKTUR opalithe white bright [1] The information is provisional. Neither confirmed values from an officially recognised testing organisation nor an EC type approval nor a certificate of conformity with official values are available to date. Deviations between the data and the official values are possible.](/media/images/Original-50543-26c0043-001.format-jpeg.max-370x278.jpg)


