Az új szabadalmak azt mutatják, hogy a Yamaha továbbra is komolyan gondolja a háromhengeresük turbósítását. Az első bizonyítékokat tavaly kaptuk, és a szabadalmi rajzok mellett egy fotó is előkerült egy működő prototípusról. Akkor az MT-10 vázábba építettek be egy turbós MT-09 blokkot, közvetlen befecskendezéssel, változó szelepvezérléssel, 73 mm lökettel, 67,5 mm-es furattal (az MT-09 eredetileg 78-as furattal és 59,1-es lökettel rendelkezik), 180 lóerővel, 176 Nm nyomatékkal. Mégpedig úgy, hogy az emisszión is javítottak.
Erre megy ki az egész, a motorgyártóknak ugyanis egyre nagyobb gondot okoz a környezetvédelmi előírások betartása, így kénytelenek új megoldások után kutatni. A Yamaha a turbósításban látja a megoldást, és a mostani, a turbó, a hűtő és az intercooler elhelyezéséről szóló szabadalmak alapján már pontosabb képet kaphatunk arról, hogyan képzelik el a nagyteljesítményű motorok következő generációját.
Ezúttal azt a problémát oldották meg, hogyan lehet egy közel ezres blokkot úgy turbósítani, hogy beférjenek egy normál méretű vázba. Bár a blokk az MT-09-ből van, továbbra is az MT-10 alumínium vázát használták. Most végre látszik, hogy a tavaly látott motor szokatlanul mélyre szerelt hőtője nem bug volt, hanem sajátosság - azért szükséges, hogy az első kerék mögött elférjen az intercooler, mégpedig a tengelytáv növelése nélkül.
Ráadásul így lehet úgy elhelyezni a turbót, hogy hogy optimális legyen a légáramlás, és a lehetős legkisebb legyen a turbó késése. Tehát a vízhűtőt mélyebbre tették, lekerekítették a sarkait, hogy ne csökkentse a szabad magasságot és az elérhető dőlésszöget, az így felszabadított helyre pedig befért a turbó és az intercooler. Azért nem a turbó és töltőlevegő-hűtő került alulra, hogy a levegőnek kevesebb utat kelljen megtennie a motor és a turbó között, ezzel is csökkentve a turbólyukat.
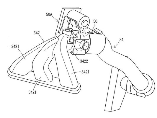
A turbós motorkerékpároknál létfontosságú a megfelelő gázreakció - aki valaha ment az 1980-as évek turbós motorjainak valamelyikével, az tanúsíthatja, hogy mennyire nehéz volt őket vezetni a hirtelen és bárdolatlanul megjelenő teljesítmény miatt. Ennek a kiküszöbölésével a Yamaha egy másik szabadalomban foglalkozik, melyből kiderül, hogy egy háromágú szívócsonkot használnak, és a hengerekhez külön-külön, másodlagos fojtószelepek is tartoznak. Ezek pedig össze vannak hangolva a wastegate-tel és a változó szelepvezérléssel.
Bár ezek a szabadalmak önmagukban nem bizonyítják, hogy a Yamaha turbós motorjának a bemutatója már a küszöbön van, de látszik, hogy dolgoznak rajta, és munkának pedig vannak eredményei - ezek alapján úgy gondolom, egyáltalán nem irreális azt várni, hogy 5-6 éven belül elkezdjék a szériagyártást.








![Der neue Mercedes-Benz C 400 4MATIC elektrisch. Energieverbrauch kombiniert: 18,6-14,2 kWh/100 km | CO₂-Emissionen kombiniert: 0 g/km | CO₂-Klasse: A [1] Exterieur: AMG Line; MANUFAKTUR opalithweiß metallic bright [1] Die Angaben sind vorläufig. Es liegen bislang weder bestätigte Werte von einer amtlich anerkannten Prüforganisation noch eine EG-Typgenehmigung noch eine Konformitätsbescheinigung mit amtlichen Werten vor. Abweichungen zwischen den Angaben und den amtlichen Werten sind möglich. //The all-new Mercedes-Benz C 400 4MATIC electric. Energy consumption combined: 18,6-14,2 kWh/100 km | CO₂ emissions combined: 0 g/km | CO₂ class: A [1] Exterior: AMG Line; MANUFAKTUR opalithe white bright [1] The information is provisional. Neither confirmed values from an officially recognised testing organisation nor an EC type approval nor a certificate of conformity with official values are available to date. Deviations between the data and the official values are possible.](/media/images/Original-50543-26c0043-001.format-jpeg.max-370x278.jpg)


