Azt már tudtuk, hogy a Yamaha fejlesztési részlegét foglalkoztatja turbófeltöltés, hiszen láttuk a soros kéthengeres turbós blokkjuk szabadalmát, most pedig az MT-09 háromhengeresének a turbósítását védették le.
A feltöltőre nem azért van szükség, mert az MT-09-et vezetve bárkinek is az jutna eszébe, hogy ezt még meg kéne fújni egy kis teljesítményért, hanem mert ezzel csökkenthető lenne a fogyasztás és a karosanyag-kibocsátás.
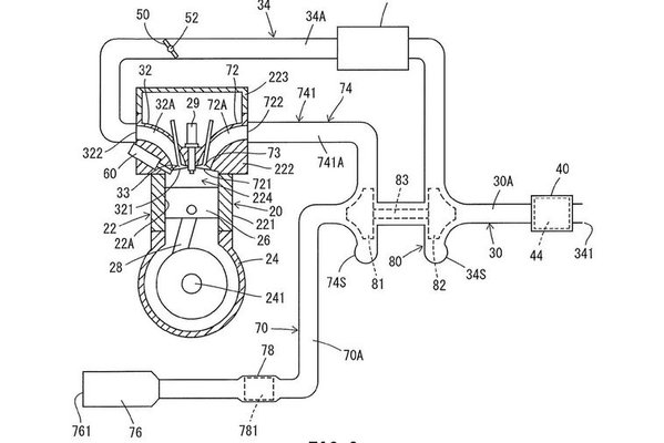
Érdekesség, hogy szabadalomban szereplő blokk lökettérfogata megegyezik a 2014-2020 között gyártott MT-09 847 köbcentijével, a benne szereplő motor hosszabb lökettel (73 mm) és kisebb furattal (67,5) rendelkezik.
A tesztek során a 180 lóerős csúcsteljesítmény értek el 8500-as fordulaton, miközben a nyomatéka rettentes 176 Nm volt, ráadásul ennek a 90%-a már 3000-7000 között is megvolt, vagyis ebből a szempontból még a VMAX-ot is lepipálja. Emellett a CO2 kibocsátást 30%-kal sikerült levinniük, vagyis az motor emissziója nagyjából a fele lenne annak, amit az Euro5 előír.
Hogy ez így összejöjjön, közvetlen befecskendezést és változó szelepvezérlést is használtak, és állítólag az elektronikus töltőnyomásszabályzással sikerült minimalizálni a turbólyukat, ami a turbós motorkerékpárok legnagyobb rákfenéje.
Bár a turbós blokk egyedi darab, a tesztekhez a körítést szériamotorokból szedték össze, főleg az MT-10 elemeit használták - az, hogy a vannak furcsa részletek, mint például a talajra szinte lelőgő hűtő, az ne zavarjon meg senkit, itt nem egy konkrét modellt teszteltek, hanem a turbófeltöltést.
A turbós Yamahákra még várni kell, a bemutatásukkal jó eséllyel kivárják az Euro6 szabályok életbelépését. A fejlesztéshez szükséges időt nehéz belőni, az adhat némi kapaszkodót, hogy a Kawasaki H2 a szabadalmi bejelentések után öt évvel jelent meg. Mivel az Euro6 bevezetésének még nincs céldátuma, és a pontos határértékeket sem szabták még meg, a Yamahánál sem fognak kapkodni.
Viszont előbb-utóbb visszatérnek a szériagyártású feltöltött motorok, a Suzuki is nagy erővel dolgozik egy turbós blokkon, a Kawasakinak már ott van a H2 sorozat, és a Honda is sorban adja be a szabadalmakat, melyek alapján úgy néz ki, hogy ők is a kompresszorban látják a jövőt.











