A Yamaha legújabb szabadalmai azt mutatják, hogy a japán gyártó ismét a hibrid hajtás felé fordult. Több mint tíz évvel ezelőtt volt már egy ilyen fellángolásuk, de a 2008-as válság megroppantotta a kutatás-fejlesztésre szánt költségvetést, és 2009-2010 körül leállították a munkákat. A legújabb szabadalmi rajzaikból viszont kiderül, hogy újra felvették a benzin-elektromos fonalat.

Ahhoz, hogy pontos képet alkothassunk arról, hogy a Yamaha mennyire korán és mekkora elánnal vetette bele magát a hibrid technológiába, ugorjunk vissza 2005-be, amikor a Tokyo Motor Show-n bemutatták a Gen-Ryu tanulmányt, amely egy hibrid cruiser volt, de műszakilag nagyon izgalmas volt: az R6 négyhengerese mellé egy generátorként is működő villanymotor került, amelyek egy bolygókerekes váltón keresztül hajtottak. Ez a megoldás nagyon hasonló volt az akkori Toyota Priushoz, vagyis külön-külön és együtt is részt tudtak venni hajtásban.
Négy évvel később jött a HV-X, amely már határozottan gyártásra kész modellnek tűnt - szintén Prius-stílusú hajtással rendelkezett, de már széria alkatrészekből épült fel, a T-Max 500 vázát használva egy 250-es robogómotor és egy húsz lóerős villanymotor került bele, CVT hajtással. Aztán a válság messzire sodorta a hibrid projektet, és csak most vették újra elő.
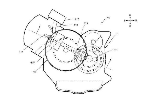
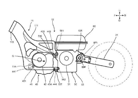
A mostani szabadalom főleg a váz elrendezésével foglalkozik, de a körítésből látszik, hogy a Gen-Ryu és a HV-X projekttel ellenben már nem párhuzamos hibridben gondolkoznak - a párhuzamos hibrid az, amiben a benzinmotor és a villanymotor egyaránt részt vehet a hajtásban. Ez már egy soros hibrid konstrukció, melynél a benzinmotor csak a generátort hajtja, az akkumulátorok töltésén kívül nem vesz részt a haladásban. Ez azért előnyös, mert ilyenkor a motort egyetlen fordulatra kell csak optimalizálni. Amellett, hogy így rendkívül hatékony, nem szükséges hogy szép teljesítménygörbéje legyen, hiszen csak a generátort hajtja, emiatt olcsóbb a fejlesztése és takarékosabb is.
Az egyhengeres motor ott helyezkedik el, ahol egy hagyományos motoron is a helye lenne, mögé került az elektromos motor egy egysebességes váltóval - lényegében csak egy áttétel -, melyről az első lánckerékre megy a hajtás, az akkumulátor pedig az ülés alá kerül.
A szabadalom nem a hajtás sajátosságaival foglalkozik, hanem a váz elrendezésével, hogy mi hova kerül, illetve mi az, ami teherviselő elemként szolgál. A konstrukció sok részletében emlékeztet a TMAX felépítésére.
A Yamaha ezzel a hibrid rendszerrel próbálja kiküszöbölni az elektromos motorok hiányosságait - hatótáv, töltési idő -, és sokak szerint eleve a kifinomult hibrid hajtásé a jövő, és a tisztán villanyos járművek zsákutcának fognak bizonyulni. Ez alapján a Yamaha is ezt a tábort erősíti - és erről a koncepcióról el is hiszem, hogy hosszú távon működőképes lehet.











