Három éve, amikor bemutatták a HP4 Race-t, a pillekönnyű, karbon vázas, 215 lóerős pályamotort, akkor még ragaszkodtak az alumínium lengővillához, a legfrissebb szabadalmi rajz szerint viszont már azon dolgoznak, hogyan lehetne ezt az alkatrészt kiváltani szénszálas elemmel - sőt, nem csak kiváltani, hanem lényegében lehagyni, és új utat találni. Erről a szabadalmi rajzról van szó:

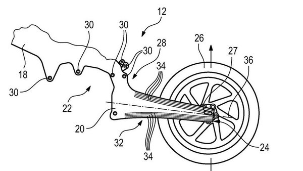
A képen látható, hogy a BMW tervei szerint a váz és a lengővilla egy egység, tehát nem két külön alkatrészről van szó - a lengővilla sem egy csapon fordul, hanem a szénszál rugalmasságát kihasználva anyagában rugózik. Emiatt nem is hívható igazából lengőkarnak, inkább olyasmi, mint a Corvette kompozit laprugója.
A szabadalomban elmagyarázzák, hogy négy-négy réteg szénszál került a villa aljára és tetejére, hosszirányba futó szálakkal, így tényleg laprugóként működne. Mivel a képen látható a rugóstag felső bekötési pontja, sejthető, hogy nem dobják ki a rugóstagot - egyfelől a csillapításhoz elengedhetetlen, de valószínűleg a rugózásban is részt fog venni, ha másért nem, az állíthatóság miatt egészen biztosan szükség lesz rá. De a munka nagyrészét már a rugalmas kar fogja végezni.
Egyelőre nem tudni, hogy valóban tervezik-e a megoldás gyártásba küldését, vagy csak erődemonstrálnak - rövid és középtávon ez utóbbi a valószínű, hiszen a BMW-nek úttörő szerepe van a szénszálas műanyagok alkalmazásában, annak idején például egy fejlesztőcéget felvásárolva jutottak hozzá ahhoz a technológiához, amivel az i3 és az i8 számára gyorsan és olcsón tudtak nagy tételben szénszálas utascellát készíteni. A mostani szabadalom nem csak azt jelenti, hogy a szénszál egyre több előnyét ki tudják aknázni, hanem azt is, hogy a sorozatgyárthatósággal is jól állnak, mert míg a HP4 Race még teljesen kézzel készült, ennél már a gépesítésé lenne a főszerep.







