Úgy néz ki, hogy a Honda visszahozná a kuplung nélküli manuális váltót a CB1100 számára, legalábbis a nemrég nyilvánosságra hozott szabadalmi rajzok erre engednek következtetni. Ez elsőre furcsának tűnik, amikor a modern, kétirányú gyorsváltók már tökéletesen működnek. A Honda ezen a téren egyébként megelőzte korát, amikor 1976-ban bemutatták a CB750A-t a Hondamatic névre keresztelt váltóval, és most mintha annak az utódján dolgoznának a CB1100 számára.

Bár a szabadalmaztatott megoldás a kezelőszerveket tekintve egyezik a Hondamatic-kal, vagyis a váltókar a lábnál van, de nincs kuplungkar, a működési elve teljesen más - gyakorlatilag egy olyan megoldásról van szó, amelyet bármilyen motorra fel lehetne szerelni.

Az eredeti Hondamatic szintén kuplungkar nélkül volt, de ott valódi áttételek sem voltak, hanem egy autókból ismerős nyomatékváltó volt. Az új megoldás viszont egy hagyományos hatgangos váltót használ, melynél egy elektronika és egy hidraulika automatikusan vezérli a tengelykapcsolót.
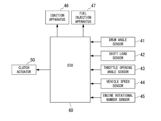
A váznyak mögé, a tank alá került egy elektromotor, mely hidraulikus nyomást épít fel, lényegében egy automatikus kuplungfőhengerként működik, és hagyományos módon a kormányon van a folyadéktartály, csak nem tartozik hozzá kar. A trükk, hogy míg a hagyományos hidrós kuplungoknál a hidraulikus nyomással nyitják a tengelykapcsolót, ennél fordítva van, és a kuplung alapból nyitva van, és a nyomás hatására zár. Ennek biztonsági szerepe is van, ugyanis egy elektromos vagy hidraulikus hiba esetén nem az történik, hogy nem emel ki a kuplung, hanem pont ellenkezőleg, oldja a hajtást.
A másik fontos eleme a rendszernek a szelep, amely a kuplung munkahengerére került - ez zárja a hidraulikát, amikor zár a kuplung, és ezt teszi lehetővé, hogy a már említett villanymotornak ne kelljen folyamatosan építenie a nyomást. Ez a két elem felel azért, hogy a kuplung nyisson és zárjon, a vezérlést pedig a váltókarra helyezett terhelésérzékelő intézi, figyelembe véve a fojtószelep állását, az aktuális fokozatot, a sebességet és a fordulatszámot - és ha szükséges, akkor belenyúl a gyújtásba vagy fojtószelep pozíciójába. Nem világos, hogy miért pont egy CB1100 jellegű motorba építik be ezt a megoldást, talán az a magyarázat, hogy így a rendszer egyenesági utódja lehet az 1976-os Hondamatic-nak, és ennek marketingszempontból lehet jelentősége.
A másik kérdésre viszont egyértelmű a válasz: azért van szüksége a Hondának erre a megoldásra a DCT mellé, mert ez a rendszer teljesen moduláris, kis módosítással bármilyen hagyományos váltós motorra felszerelhető, nem szükséges az adott blokkot alapvetően újratervezni. A DCT a Hondának bebizonyította, hogy a piac fogékony az ilyesmire, ez pedig a legolcsóbb módja, hogy a már meglévő modelljeikből is legyen félautomata kivitel.








![Der neue Mercedes-Benz C 400 4MATIC elektrisch. Energieverbrauch kombiniert: 18,6-14,2 kWh/100 km | CO₂-Emissionen kombiniert: 0 g/km | CO₂-Klasse: A [1] Exterieur: AMG Line; MANUFAKTUR opalithweiß metallic bright [1] Die Angaben sind vorläufig. Es liegen bislang weder bestätigte Werte von einer amtlich anerkannten Prüforganisation noch eine EG-Typgenehmigung noch eine Konformitätsbescheinigung mit amtlichen Werten vor. Abweichungen zwischen den Angaben und den amtlichen Werten sind möglich. //The all-new Mercedes-Benz C 400 4MATIC electric. Energy consumption combined: 18,6-14,2 kWh/100 km | CO₂ emissions combined: 0 g/km | CO₂ class: A [1] Exterior: AMG Line; MANUFAKTUR opalithe white bright [1] The information is provisional. Neither confirmed values from an officially recognised testing organisation nor an EC type approval nor a certificate of conformity with official values are available to date. Deviations between the data and the official values are possible.](/media/images/Original-50543-26c0043-001.format-jpeg.max-370x278.jpg)


