A Honda legújabb szabadalmi rajza már az a szint, mintha direkt azért csinálták volna, hogy a mindenre ráugró, hiszékeny újságírókon röhögjenek a gyárban: feltalálták a motoros hátsó spoilert.
A japán szabadalmi hivatalnak beadott rajzokon tényleg egy hátsó spoiler látható, amelyet a farokidomra helyeztek el. A motorok fara egyébként sokat változott az elmúlt 30 évben, egyre rövdebbek lettek a sportmotorok faridomai - és míg egy életstílus-motornál divatot sejtenénk, a versenymotoroknál felmerül, hogy más megfontolások is vannak az evolúció mögött.

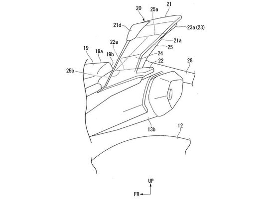
A Honda mostani rajza ebből a szempontból is karikatúraszerű, lényegében a motornak nincs fara, a vezetőülés után rögtön a spoiler kezdődik. Az is szkeptikusságra int, hogy az ott elhelyezett aerodinamikai elem a motoros miatt lényegében szélárnyékban van - vagy ha mégsem, a pilóta mérete és ruházata nagyban befolyásolja az oda jutó levegő mozgását, vagyis azon a helyen nem igazán lehet aerodinamikát tervezni.
A lyukas faridomok (Panigale, R1) kapcsán még lehet érteni az aerodinamikai megfontolást, de ebben az esetben nehéz elhinni, hogy tényleg a hátsó burkolat körüli légellenállás-csökkentésről van szó, nem egy vaskos tréfáról.
Az egész pedig még zavarosabb attól, hogy a képen egy naked motort látunk, amelynél teljesen feláldozták az utas szállításának a lehetőségét. Csomagot sem nagyon lehet rá rögzíteni, mármint az egyik képen felbukkan egy speciális alakú, cipzáras táskán kívül, amely pont bepasszol a spoiler alá, és egyébként övtáskaként is hordható.
A rajz alapján az előző évtizedek autós tuningrémálmait idéző hátsó szárnyba építenék be a féklámpát és a zárófényt, az irányjelzők viszont a rendszámtábla-tartóra kerülnének.
Érdemes még pár mondatot szentelni a kipufogónak is, amely mostanában szokatlan módon feljön az ülés alá. Ez a megoldás a 90-es években jelent meg, majd a 2000-es években ért a csúcsra. A Ducati 916-nak és a Honda NR750-nek köszönhetjük a felfutását, és szinte az összes gyártó rápörgött egy időben, aztán ahogy az emissziós előírások miatt egyre nagyobb kipufogókra lett szükség, a gyártók a tömegközpontosítás miatt elkezdték egyre mélyebbre helyezni őket. Ezért külön gyanús ez a részlet is, a sok intő jel miatt hajlanék arra, hogy ezt most ne vegyem komolyan.
(Aztán mi van, ha mégis ez a jövő? :D:D:D)











![Der neue Mercedes-Benz C 400 4MATIC elektrisch. Energieverbrauch kombiniert: 18,6-14,2 kWh/100 km | CO₂-Emissionen kombiniert: 0 g/km | CO₂-Klasse: A [1] Exterieur: AMG Line; MANUFAKTUR opalithweiß metallic bright [1] Die Angaben sind vorläufig. Es liegen bislang weder bestätigte Werte von einer amtlich anerkannten Prüforganisation noch eine EG-Typgenehmigung noch eine Konformitätsbescheinigung mit amtlichen Werten vor. Abweichungen zwischen den Angaben und den amtlichen Werten sind möglich. //The all-new Mercedes-Benz C 400 4MATIC electric. Energy consumption combined: 18,6-14,2 kWh/100 km | CO₂ emissions combined: 0 g/km | CO₂ class: A [1] Exterior: AMG Line; MANUFAKTUR opalithe white bright [1] The information is provisional. Neither confirmed values from an officially recognised testing organisation nor an EC type approval nor a certificate of conformity with official values are available to date. Deviations between the data and the official values are possible.](/media/images/Original-50543-26c0043-001.format-jpeg.max-370x278.jpg)
