Miután motorerőből és elektronikákból már több is van, mint amennyi elég, a motorgyártók legújabb fejlesztési iránya az aerodinamika lett - mint sok más minden, ez is a versenysportból ered, és az elmúlt években elkezdett leszivárogni az utcai motorokba - már amennyire utcainak lehet tekinteni a Kawasaki H2R-t, a Panigale V4 R-t és az Aprilia RSV4 1100-at. Friss szabadalmi rajzok szerint a Honda is beáll a sorba, és várhatóan a következő CBR1000RR-en már lesznek aerodinamikai elemek.

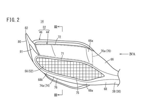
A Honda viszont nem lenne Honda, ha nem a rá jellemző megfontoltsággal látna neki a feladatnak: utcai motorokon úgyis vannak kiálló dolgok, mint például a visszapillantók, minek tegyünk rá további kiálló bizbaszokat? Ennek megfelelően elkezdték kidolgozni a leszorítóerőt termelő visszapillantót.
Ez most úgy hangzik, mintha valami kényszeredett árpilisi kreténség lenne, de tényleg erről van szó. A tükör profilja így egy fordított szárny, tehát az alsó és felső felület között nyomáskülönbség alakul ki, aminek eredménye a leszorítóerő (megfordítva pedig felhajtóerőt termelne).
Bár az ötletben van ráció, elég zavarosnak tűnik, hiszen egy ezres sportmotornak jellemzően versenypályán kell az extra leszorítóerő, ott pedig a visszapillantót le szokták szerelni - ha a világbajnokságra mennek, ott eleve nincsenek tükrök, tehát ezt a fejlesztést ott nem fogják tudni kamatoztatni.







![Der neue Mercedes-Benz C 400 4MATIC elektrisch. Energieverbrauch kombiniert: 18,6-14,2 kWh/100 km | CO₂-Emissionen kombiniert: 0 g/km | CO₂-Klasse: A [1] Exterieur: AMG Line; MANUFAKTUR opalithweiß metallic bright [1] Die Angaben sind vorläufig. Es liegen bislang weder bestätigte Werte von einer amtlich anerkannten Prüforganisation noch eine EG-Typgenehmigung noch eine Konformitätsbescheinigung mit amtlichen Werten vor. Abweichungen zwischen den Angaben und den amtlichen Werten sind möglich. //The all-new Mercedes-Benz C 400 4MATIC electric. Energy consumption combined: 18,6-14,2 kWh/100 km | CO₂ emissions combined: 0 g/km | CO₂ class: A [1] Exterior: AMG Line; MANUFAKTUR opalithe white bright [1] The information is provisional. Neither confirmed values from an officially recognised testing organisation nor an EC type approval nor a certificate of conformity with official values are available to date. Deviations between the data and the official values are possible.](/media/images/Original-50543-26c0043-001.format-jpeg.max-370x278.jpg)
