- A Ford egy új technológiát szabadalmaztatott, amely alapjaiban változtathatja meg az adaptív fényszórók piacát.
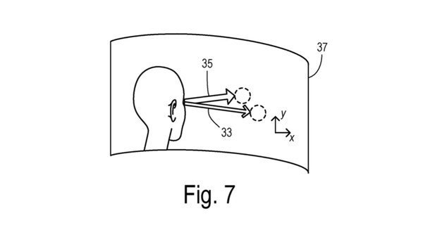
- A rendszer a vezető fej- és szemmozgásából rakná össze, hogy merre irányítsa a fényszórókat.
- A koncepció nem teljesen új, az Opel 2015-ben már bejelentett hasonlót.
A Ford nemrég védjegycsomagot nyújtott be az Amerikai Védjegyügyi Hivatal, az USPTO részére, amelyben szerepel egy adaptív fényszórókra vonatkozó rész is. Az új védjegy egy tekintetkövető technológiára vonatkozik, amely a sofőr szem- és fejmozgását figyelve állítja a fényszórókat.

A jelenlegi adaptív fényszórótechnológiák kormányzásra és a szembejövő autókra reagálnak, de a Ford szerint előfordul, hogy kormányzástól függetlenül is szükség lehet a változtatható szögű fényszóróra, például egy többsávos út középső vagy belső sávjában. Erre a célra a tárgyfelismerés is megfelelő lehet, de a Ford szerint az emberi beavatkozás elvét követve külön irányítás is szükséges lehet.

Az ötlet egyébként nem teljesen új, 2015-ben az akkor még GM alatt működő Opel már egyszer bejelentette, hogy hasonló megoldáson dolgozik, akik akkor azt hitték, hogy Európában a megoldás könnyen piacképes lehet. A Ford elsődlegesen az amerikai piacon tervezheti az újítás bevezetését, ahol a szövetségi törvények csak nemrég engedélyezték a modern mátrix fényszórók használatát, ezért még nagy a piaci rés az új megoldások számára.
Forrás: Motor Authority







