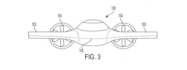
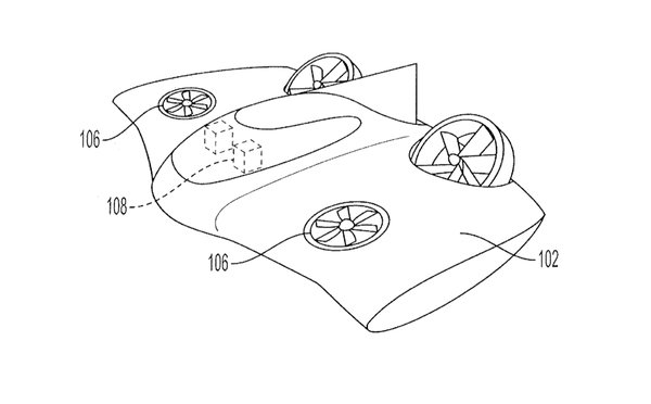
A hónap elején nyilvánosságra hozott amerikai szabadalmi leírásból származó rajzokon egy kifejezetten érdekes jármű látható: egy apró, csupaszárny-elrendezésű repülő eszköz, csőlégcsavarokkal.
A négy propellerből kettő elfordítható, így az eszköz vízszintes haladását is biztosítaná, kettő pedig csak az emelésben segít fel- és leszállás közben. Ehhez hasonló járművet ekkora méretben még nem láttunk repülni, de nem lehetetlen, hogy némi fejlesztés után használható közlekedési eszköz válna belőle.
Az eddigi találgatások alapján valahonnan innen indul a Boeing és a Porsche közös légitaxi projektje, amelyet még tavaly jelentettek be. Ez a Hyundai és a Uber tanulmányához hasonlóan automatikusan szállítana utasokat városon belül, de a konkrét repülőeszközről most láthatunk először jellegrajzot. A Porsche-Boeing tervezet egyébként a Hyundai-hoz hasonlóan elektromos hajtás köré épülne, így itt is viszonylag korlátozott hatótávra lehet számítani.
Az utóbbi években több hasonló kezdeményezéssel is találkozhattunk, de ezek nagyjából ugyanott tartanak: nagyszerű ígéretekkel igyekeznek felkelteni az érdeklődést, ám működő szolgáltatást még senki nem indított. Az óvatosság egyébként nem meglepő: egy ilyen légitaxi zsúfolt városok felett működhetne a legjobban, ám ilyen környezetben a legkisebb hiba is tömegszerencsétlenséghez vezethet. Ez pedig hosszas, akár évtizedekig húzódó fejlesztést jelent, mielőtt az első fizető utasok a levegőbe emelkedhetnek.










