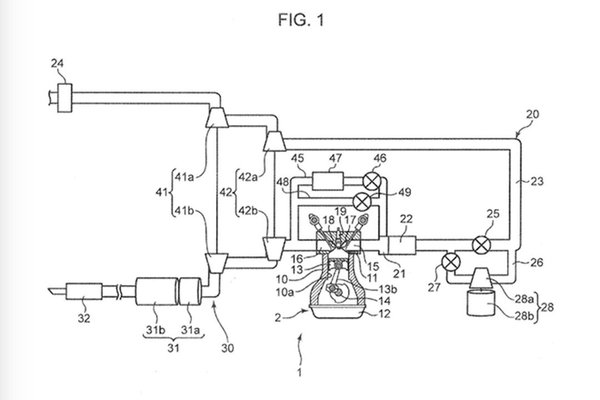
A Mazda eddig nem készített kis turbómotorokat, de az új Skyactiv-X motorral ennek a különcségüknek is vége lehet. A bizonyos helyzetekben kompresszió-gyújtással működő négyhengerest a Mazda szabadalmi kérelme szerint három feltöltő eteti sűrített levegővel.
A kompresszorok közül kettő szokványos turbófeltöltő, méghozzá a rajzok szerint egymással sorba kötve. A harmadik viszont elektromos feltöltő, amelyet a terv alapján megkerülhet a motorba jutó levegő, azaz csak bizonyos üzemállapotokban használja a motor. Az efféle elektromos feltöltő manapság már nem újdonság, a Volvo és az Audi egyes sorozatgyártású motorjaiban már használ hasonlót. Az ilyen villanymotoros kompresszorok elsődleges feladata általában a gázreakció javítása, és alighanem a Mazda is erre használja majd, hisz több mint valószínű, hogy a két sorba kötött turbónak időbe kerül, súlyos tizedmásodpercekbe, amíg felépítik a töltőnyomást.
Négy hengerre három feltöltő egyébként rekordgyanús, ami a henger-feltöltő arányt illeti, de az az érzésünk, a jövőben látunk még néhány hasonló megoldást.









