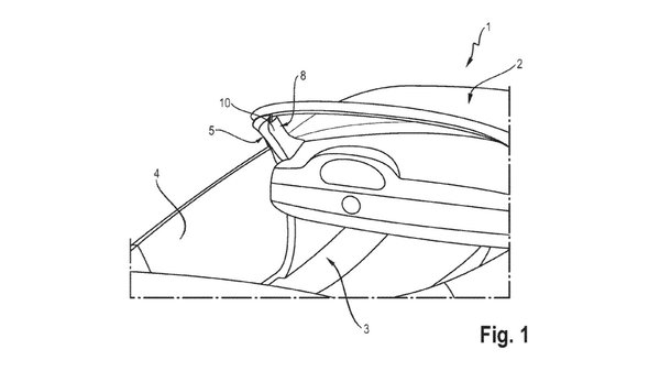
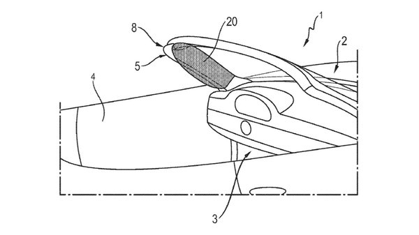
A nyitható tetejű modellek biztonságát fokozhatja a Porsche új típusú légzsákja, amelyet a szélvédőkeret oldalsó részében helyeznének el.
A Porshce szerint az új típusú légzsák elsősorban kis átfedéses frontális ütközések esetén növelheti az autók biztonságát, mivel ilyenkor a lassulás nem az autó hossztengelyében hat, azaz a fej nem a kormányban elhelyezett légzsák felé indul meg, hanem a szélvédőkeret, illetve az oldalablak irányába. A sportkocsigyártó találmánya a függönylégzsákot váltja ki nyitható tetős autóknál, azaz az oldalablakok mentén nyílik ki.
Valószínű, hogy a nyitott Porschékban hamarosan megjelenik ez a megoldás, de nem csodálkoznánk rajta, ha később más gyártók is elkezdenék felhasználni az ablakkeret-légzsákot.









