Még 2018 márciusában nyújtotta be a Honda azokat a szabadalmi rajzokat, amik bizonyítják, hogy foglalkoztak a Gold Wing radaros tempomattal való felszerelésével. Mivel két és fél évvel ezelőtti szabadalomról van szó, nagyon valószínű, hogy a Hondánál már tesztelik a működő prototípusokat, amelyeket a következő 12 hónapban bármikor bemutathatnak és szériagyártásba engedhetnek.
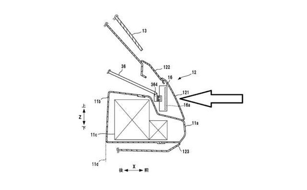
A radaros rendszert meglehetősen elegánsan sikerült beépíteni a Gold Wing orrába, a műanyag panel mögé került a radarérzékelő, így rejtve marad a szemek elől. Jelenleg csak a Ducati árul radarrendszerrel felszerelt motort, de a BMW, a Harley-Davidson, a Kawasaki is dolgoznak rajta.
Mivel a Ducati és a BMW is a Bosch rendszerét használja, akik piacvezetők ebben a szegmensben, ésszerű azt feltételezni, hogy a Honda is az ő megoldásukat építi be a motorjaiba, pláne úgy, hogy a Bosch látja el a Honda autóit is radarérzékelővel.









