A Kawasaki mint motorgyártó apró, de mint cégcsoport hatalmas, ez a kettősség pedig kedvez a merész húzásoknak - egyfelől megvan az anyagi háttér, másrészt a motorgyártó részleg kellően kicsi, hogy gyors és bátor döntéseket hozzanak. És egy ilyen döntés állhat a most kikerült szabadalmi rajz hátterében is, ugyanis egy elég meglepő modell terveit védették le, egy háromkerekű, kanyarban bedőlő side by side-ot, amely leginkább a Polaris Slingshot ellenfele lehet - azzal a fontos különbséggel, hogy a Polaris nem dől be a kanyarban, ahogyan a motorkerékpárszerűbb Can-Amek sem.
Bár a Kawasaki sokféle ATV-t és UTV-t gyárt, ez a koncepció egészen új, hiszen a Yamaha Niken jellegű bedőlős háromkerekű motorokat keresztezték a side by side ATV-kkel (ilyen side by side például a Polaris RZR, amelyben egymás mellett ül a vezető és az utas, az irányítása pedig autókból ismerős kormányművel történik).
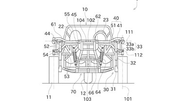
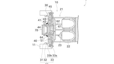
A Kawasaki egy csőváz köré álmodta meg a járművet, aminél két első és egy hátsó kerék van - az első kerekek független lengőkarokon helyezkednek el, a jármű pedig a jobb stabilitás érdekében enyhén befelé dől a kanyarban - ilyenkor a motorkerékpáros profilú hátsó kerék dől, a személyautós profilú elsők pedig az útra merőlegesek maradnak.
Az első futómű egyébként részleteiben hasonlít a Nikenéhez, vagyis a lengőkarokhoz teleszkópvillák csatlakoznak.
A hajtás lehet elektromos, benzines vagy hibrid is - a motor pedig az utasok mögé kerül. A Ninja H2 blokkjával minimum érdekes lenne. Bár a terv mindenképpen izgalmas, valószínűleg nem lesz ilyen járműve a Kawasakinak, és a szabadalom igazából az első futóműről szól.
További cikkeink










![Der neue Mercedes-Benz C 400 4MATIC elektrisch. Energieverbrauch kombiniert: 18,6-14,2 kWh/100 km | CO₂-Emissionen kombiniert: 0 g/km | CO₂-Klasse: A [1] Exterieur: AMG Line; MANUFAKTUR opalithweiß metallic bright [1] Die Angaben sind vorläufig. Es liegen bislang weder bestätigte Werte von einer amtlich anerkannten Prüforganisation noch eine EG-Typgenehmigung noch eine Konformitätsbescheinigung mit amtlichen Werten vor. Abweichungen zwischen den Angaben und den amtlichen Werten sind möglich. //The all-new Mercedes-Benz C 400 4MATIC electric. Energy consumption combined: 18,6-14,2 kWh/100 km | CO₂ emissions combined: 0 g/km | CO₂ class: A [1] Exterior: AMG Line; MANUFAKTUR opalithe white bright [1] The information is provisional. Neither confirmed values from an officially recognised testing organisation nor an EC type approval nor a certificate of conformity with official values are available to date. Deviations between the data and the official values are possible.](/media/images/Original-50543-26c0043-001.format-jpeg.max-370x278.jpg)
