Érdekes szabadalomról jelentek meg képek nemrég az interneten és nem is kérdés, hogy a tervek a BMW-től származnak. A képeken ugyanis egy olyan csavar van, aminek a feje az eddig ismert csavarokhoz képest teljesen egyedi, mindemellett a BMW klasszikus emblémáját mintázza.
Kétségtelen, hogy jól néz ki, azonban az egyedi fej egyedi szerszámot is jelent. De legalábbis azt, hogy semelyik ismert fej nem lesz hozzá jó. Valószínűleg nem véletlen találta ezt ki a BMW: vannak olyan gyártók, akik nem szeretnék, ha autóikat otthon vagy éppen független műhelyekben lehetne szerelni, ez a csavar pedig jó megoldás lenne ezek távol tartására. A saját műhelyeikben nyilván rendelkezésre állna ezen csavarok nyitására és lehúzására hivatott szerszámok, máshol viszont eleinte ezek hiányoznának.

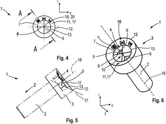
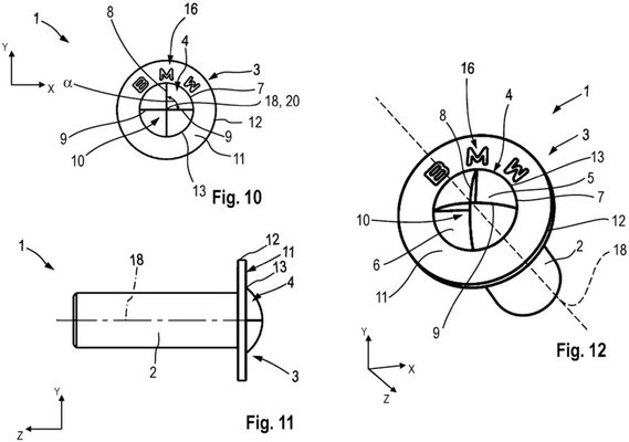
Maga a csavar egyébként a BMW logót mintázza, a külső karimáján még a három betű is megjelenik. Az eredetileg propellertől származó, négy negyedre osztott körcikk-minta két, egymással szemben fekvő oldalát besüllyesztették, ebbe menne a spéci szerszám ellendarabja. A másik két negyed pedig marad síkban a csavar fejével. Ezt a mintázatot, egyébként három különböző csavarfej-formával is megtervezték, ami három különböző szerszám szükségességét feltételezi.

A megoldás ötletes, de nem tudom, hogy mennyi ideig tartana ez vissza bárkit is a mai világban. Valószínűleg bármelyik gépműhely tudna készíteni egyedi szerszámokat a csavarokhoz, de hamar megjelennének a nagyobb tételben gyártott utánzatok és sokan elkezdenék lecserélgetni a csavarjaikat normálisra. Tehát valószínűleg csak azt tartaná távol ez a csavar a szereléstől, aki amúgy sem otthon oldja meg az autója gondjait, hanem elviszi egy márkaszervizbe.

Másfelől egyelőre csak egy szabadalmi bejegyzésről van szó, amit a BMW még 2024 június elején nyújtott be és most, december elején hozták nyilvánosságra. Az ehhez hasonló szabadalmak gyakran nem valósulnak meg, a gyártó viszont kénytelen levédetni az ötleteit, ha nem szeretné, hogy a piacon mindenki egyszerre dolgozzon rajta.
Forrás: Carscoops







