Szabadalmat nyújtott be tavaly a General Motors az amerikai védjegyhivatal felé kétütemű motort fejlesztésével kapcsolatban. A most nyilvánosságra hozott dokumentum szerint az autóipari óriásvállalat újra elővenné a lassan teljesen elfeledett technológiát és ötvözné a négyütemű motorok előnyeivel.
A kétütemű motorok lassan de biztosan kikoptak, pedig sok jó oldaluk van. A négyütemű motorokhoz képest rendkívül egyszerű a felépítésük, kevesebb mozgó alkatrészből állnak és szívó állapotukban is egész magas tuning potenciállal rendelkeznek. Működésükből fakadóan azonban elég magas a károsanyag-kibocsátásuk, többet fogyasztanak és gyorsabban kopnak. Ezek pedig pont elég indokot jelentettek ahhoz, hogy lassan eltűnjenek a piacról.
GM Is Working on a Modern Two-Stroke Engine That Could Make a Comeback https://t.co/kr9ouSGj5U
— Autoblog (@therealautoblog) November 29, 2025
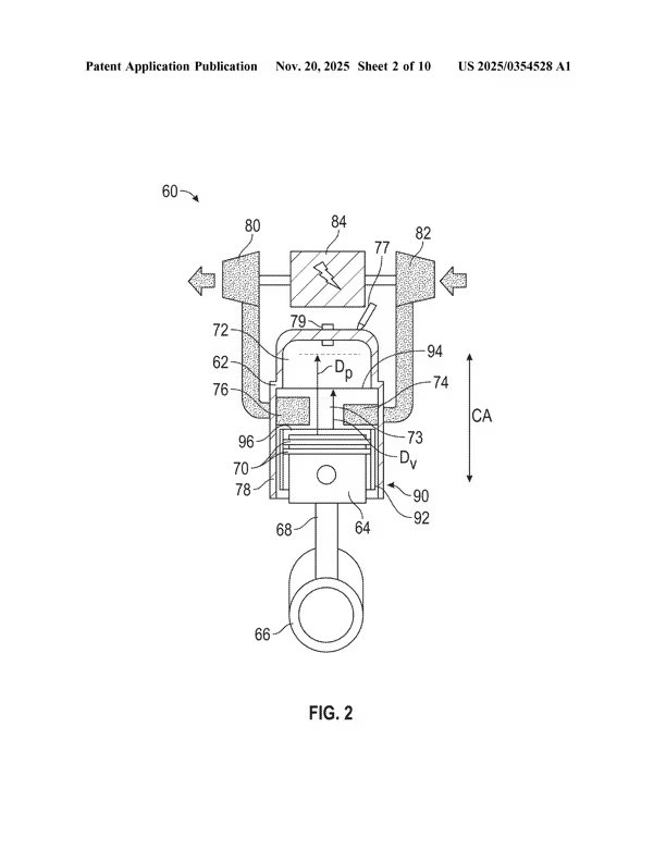
A General Motors azonban úgy néz ki, hogy kitalált egy egyedi vezérlési rendszert, amivel ezeket a hátrányokat meg lehetne szüntetni – vagy legalábbis minimalizálni. A kétütemű motornál a vezérlést lényegében magának oldja meg a motor, okosan kialakított szívó és kipufogó csatornákkal a hengerpalástba marva. A megoldás miatt van olyan munkaállapot, amikor mind a két oldal nyitva van, így el nem égett szénhidrogének jutnak ki a kipufogóból a külvilágba. A GM azonban tervezett egy elektromechanikus vezérlést, ami valamilyen palást formájában a henger nyílásai és a dugattyú közé kerülne be.

Ez elméletileg mind a fokozott kopást, mind a be- és kiáramló anyagok szabályozását ellátná, ezzel kiküszöbölve a kétütemű motor legnagyobb problémáit. Ha a dolog működik, akkor rendkívül kompakt és jó súly/lóerő arányú motorokat készíthetnének, amelyeket hatótávnövelős elektromos autókba építhetnének be amellett, hogy maga a belső égésű motor előállítása is alacsonyabb költséggel lehetne.
Forrás: Autoblog







