- Hat ütemű motorral kísérletezik a Porsche, egy megoldást már le is védetett.
- A lényeg a főtengely mozgásában rejlik, a cél pedig a hatékonyság és ezáltal a teljesítmény javítása.
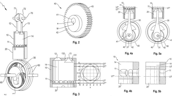
A Porsche szabadalmat nyújtott be a 6 ütemű motor működésére. A Porsche féle megoldás lényege abban rejlik, hogy a motorban a főtengely egy ciklus alatt kétszer fordul körbe, csökkentve a dugattyúk által megtett utat és így javítva a hatékonyságot. A mostani fejlesztés a legnagyobb előrelépést jelenti 1883 óta, amikoris Samuel Griffin angol feltaláló kísérletezett hasonló motorokkal.
A szabadalom rendkívül összetett, de a lényeg a munkaütemek megduplázásán van. A motor két főtengelyfordulat alatt először egy szívás-sűrítés-munkaütem, majd egy sűrítés-munkaütem-kipufogás ciklust hajtana végre. A fejlesztés mögött a legfontosabb cél a hatékonyság növelése.

A szabadalommal kapcsolatban számos kérdés felmerülhet, amelyeket a dokumentum egyelőre nem tisztáz, így nincsenek konkrétumok az új motortípus fordulatszámtartományáról, a keletkező újfajta vibrációkról és a működés közbeni egyensúlyról sem.
A hat ütemű motorokkal már többen is kísérleteztek, volt ahol második dugattyút használtak szelepként, de voltak vízbefecskendezéssel és ezzel együtt gőzmunkaütemmel ellátott hat ütemű motorkoncepciók is, azonban ezek a megoldások nem terjedtek el.
Forrás: Interesting Engineering







