- Az autók külső tükreibe szerelne kijelzőt a BMW egy szabadalmi beadvány szerint.
- A kis névtábla méretű kijelzők LED vagy OLED panellel lehetnének elérhetők.
- Teljesen rajtunk múlik, hogy mi jelenik meg rajtuk, az autóból vagy a My BMW appból is állíthatnánk.
- A koncepció valószínűleg nem csak extraként lesz elérhető, hanem külön megvásárolható is díszelemként is.
Gyakran illetik kritikával a modern autókat, amiért egyre több bennük a képernyő. A BMW most megfejelné ezt a trendet és tovább növelné kijelzők számát, csak nem a beltérben, hanem az autó külsején. Egészen pontosan a tükrökbe szerelne kisebb kijelzőket a személyre szabhatóság jegyében.
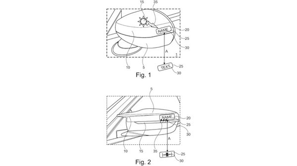
A Carbuzz autós magazin vett észre egy új bejegyzést a Német Szabadalmi és Védjegyhivatalban, amit a bajor márka nyújtott be. Olyan koncepciót akarnak levédetni, amely szerint az autók külső tükrének a burkolatába szerelnének kis kijelzőket. Ezek áramellátását ugyanaz a hálózat adná, ami az indexek és az elektromos tükörállító szervómotorok működéséért is felel és LED vagy OLED kijelzővel lehetne kapható. Azt nem pontosították, hogy ez az egység mekkora is lenne a valóságban, de nagyjából egy ingre csíptethető névjegytáblát kell elképzelni a szabadalmi tervek alapján. Ezt akár az autó fedélzeti rendszeréből, akár a My BMW appon keresztül állíthatjuk.
Mivel nem túl nagy, a forgalomban valószínűleg nem kivehető, míg az autórajongók valószínűleg nem a tükörbe rejtett kijelzőért csapják elő a telefonjukon a fényképezőt. Ezért nehéz kérdés, hogy a BMW-nek pontosan mi a célja a szabadalommal. Vannak olyan ötletek, miszerint kiírhatjuk rá az autó vagy a sofőr nevét – esetleg becenevét –, vagy valamilyen közösségi média oldalához szükséges gyorselérését. Ennél fél fokkal hasznosabb, ha az autó töltés közben – elektromos és plug-in hibridek esetén – itt írja ki a töltés állapotát vagy a töltöttség szintjét, esetleg itt lesz egy visszajelzője az előfűtés-hűtés rendszerének.
Azt egyelőre nem tudni, hogy a forgalomban mikor jelennek meg az első tükörkijelzős BMW modellek. Viszont úgy néz ki, hogy a bajor márka nem csak mint rendelhető extra, de mint utólag megvásárolható díszelem is el tudja képzelni az alkatrészt, így a tunereknek is kedvezhetnek.








