Miután a Teslának annyira nem jöttek be az alternatív perifériákkal irányított járművek (rád nézünk steering yoke), a Lexus gőzerővel fejleszti a saját verzióját. A Ferrari fejlesztőcsapatának sokkal radikálisabb ötlete támadt. Hamár autóik hasonlítanak is vadászgépekre, áruk és teljesítményük pedig bőven meghaladja egy kisrepülőgépét, miért is ne irányítanák az autót egy joystickkal?

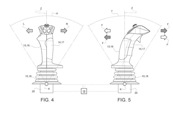
Szabadalmi védelem alá helyezett koncepció szerint a botkormányt a vezetőtől jobbra vagy balra és a vezérlő döntése közvetlenül befolyásolná a kerekek mozgását. Magyarán kormányozni lehet vele. A gyorsítást és lassítát többféleképpen is elképzelték. A tradicionális pedálok alkalmazását sem vetik el, de szerintük a joystickra helyezett gombokkal is lehetne irányítani az autót.

A Ferrari még nem biztos benne, hogy az innovatív vezérlőrendszerét hogyan lehetne alkalmazni, ám úgy tartják, ők az elsők, akik ilyennel próbálkoznak. Korábban a Mercedes és a néhai Saab is épített joystickkal irányított autót, persze kizárólag kísérleti jelleggel.







