Ahogy halad az idő, úgy szaporodik az autókban a légzsákok száma. A kormánylégzsákok mellett akad már függönylégzsák, térdlégzsák és összefejelés gátló légzsák is, ám a Toyota legújabb megoldása akár egymagában kiválthatja ezek egy részét.

Egy új légzsák kifejlesztése az önvezető autók terjedésével vált szükségessé. A klasszikus légzsák akkor működik hatékonyan, ha a sofőr megfelelő pozícióban ül. Ez egy normál autó esetében általában nem jelent problémát, hiszen mindenki hasonló pózban vezet. Az önvezető autóknál azonban egész más a helyzet, hiszen itt a sofőr üléspozíciója sokkal kevésbé kiszámítható. Az azonban igen valószínű, hogy bár üljön az ember bárhogy, a fejét a fejtámlának támasztja.
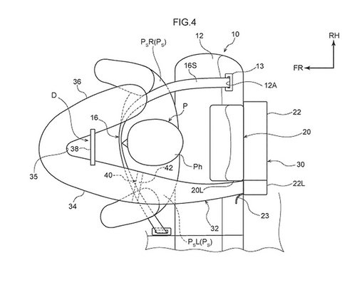
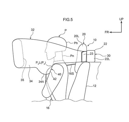
Éppen ezért a Toyota egy fejtámlából előrenyúló, majd a sofőr fejét, nyakát és vállát körülölelő légzsákot fejlesztett, mely több szakaszban fúvódik fel. Először előrefelé terjeszkedik a sofőr mellett, majd ha elérte a megfelelő hosszúságot, oldalra, bumeráng formában kezd nőni.
Bár a gyártó célja eredetileg nem ez volt, az új megoldás egymagában képes lehet kiváltani az elülső, a függöny, és az összefejelést gátló légzsákokat is, mindamellett, hogy akár szokatlan üléspozíciókban is megvédheti a sofőrt. Akad azonban egy nehézség: mivel az "ölelős légzsák" több részből áll, több időre van szüksége a teljes felfújódáshoz. A Toyota mérnökei ezért olyan szenzorokat fejlesztenek, melyek már az ütközést megelőző utolsó pillanatokban nyitni kezdik a légzsákot, mikor a baleset már elkerülhetetlen.
Az új légzsák egyelőre csak koncepció szintjén létezik, arról pedig nincsenek információink, mikor kerülhet az autókba, de az sem kizárt, hogy erre sosem kerül sor.
Forrás: news.smartermedia.hu









