Ma már szinte számolatlanul lehet komfortot növelő felszereléseket választani a legtöbb autóba, a klíma szinte alap a kisebb kategóriákban is, de az ülésfűtés sem megy ritkaságszámba. Aki igazán fázós, vagy az ízületei nem bírják a hideget, a fűtött kormánykereket is szívesen ikszeli az extralistán. A Mercedes új szabadalmával már nemcsak melegíthetjük, hűthetjük is a kezünket.
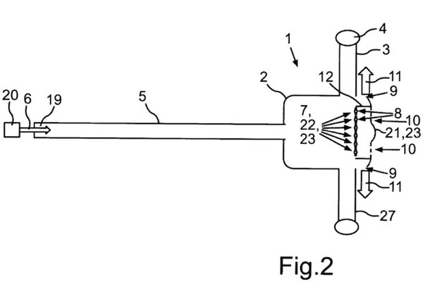
A rajzok alapján a kormányközép lesz a kulcs. Oda vezetik majd el a levegőt valamiféle csatornán, onnan jut el aztán a kezünkhöz. Ehhez a jelek szerint nem befúvókat és rostélyokat, hanem légáteresztő anyagot képzelnek el, tehát leginkább a szellőztetett ülések mintájára működne a megoldás.
Az itt kijutó levegő tehát nem az arcunkat és testünket, hanem kimondottan a kezünket célozza. A hőmérsékletet állíthatjuk, bár az még nem világos, hogy a klímával együtt, vagy attól külön. Ha pedig úgy tetszik, befolyásolhatjuk, hogy mekkora területet érintsen, de persze ki is kapcsolhatjuk a funkciót. A hozzá kapcsolódó kezelőszervek jó eséllyel logikusan a kormányon kaphatnak helyet.
Azt egyelőre nem tudni, mely modellben mutathatják be az új fejlesztést, de azért van rá sansz, hogy először az S osztály kapja meg.









