
A BMW is szarvkormányt tervez?
A Tesla Model S Plaid elfelezett kormánykereke ehhez képest matyó hímzés.
Közzétéve:
2022. 01. 25. 07:04
Közzétéve:
2022. 01. 25. 07:04
Nem mintha bárkinek baja lenne a kormánykerékkel, de az önvezetés fejlesztésével mégis felmerült, hogy túl sok helyet foglal. Szériamodellen először a Tesla rúgta fel a szokásjogot a Model S Plaid felső ív nélküli kormányával, de úgy néz ki, a BMW tervezői rálicitálnának.
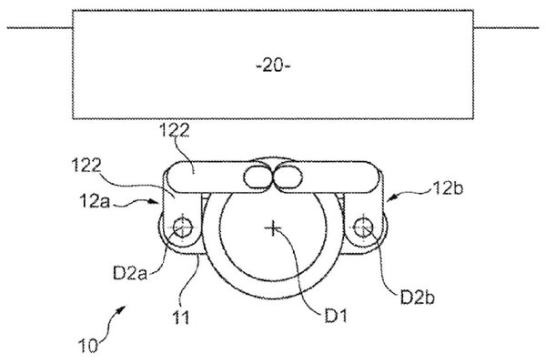
A szabadalmi leírás szerint legalábbis olyan kormányt képzeltek el, amely lényegében csak két fogantyúból állna, ráadásul ezek elfordulnának a két kormányküllő végeinél. Az ötlet egyik vonzó tulajdonsága, legalábbis autóbelsőtér-tervezői szempontból, hogy ha épp nincs rá szükség, a két fogantyú is behajtható, így külön kormánykerék-eltüntető mechanizmus nélkül sem foglal igazán sok helyet.
Az ilyen szükség-kormány létjogosultságát persze az adná, ha a vezetés nagy részét tényleg az önvezető rendszer végezné. Egy ilyen kétszarvú izével nyilván könnyebben elérhető, hogy a felhasználó, ha tud se akarjon vezetni, csak ha tényleg nagyon muszáj. Ehhez persze nem ártana, ha volna olyan önvezető rendszer, ami tényleg megbízhatóan működik, de ilyennel egyelőre még nem találkoztunk.