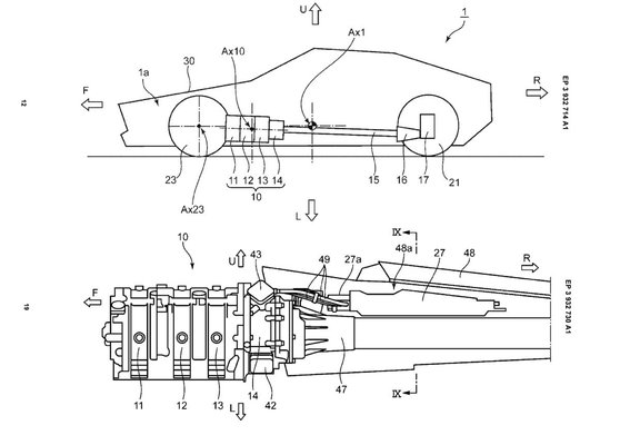
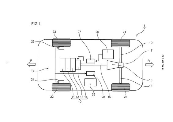
Elég meglepő irányban fejleszt a japán gyártó, legalábbis egy sor szabadalom szerint, amelyeket épp itt Európában mutattak be. A vázlatokon egyértelműen egy hátsókerék-hajtású modell látható, errefelé sosem látott, háromtárcsás Wankel-motorral és 48 voltos enyhe hibrid hajtással.
A háromtárcsás elrendezést ugyan már alkalmazta a Mazda szériamodellben az 1990-es évek elején, de az Eunos Cosmo luxuskupét (1990-96) csak Japánban forgalmazták, külföldre csak néhány példány jutott, szürkeimportban. Egy ilyen motor teljesítménye az eddigi Mazda Wankelek képességeit ismerve feltöltés nélkül is legalább 350 lóerő lenne. Ugyanakkor e motortípus jellemzően magas üzemanyag-fogyasztása miatt nem igazán simul bele a jelenlegi motorfejlesztési trendbe, és ezen még egy teljes hibrid rendszer sem segítene sokat, nem hogy egy 48 voltos.
Az így is elképzelhető lenne, hogy kis szériás presztízsmodellként elkészítsenek egy újabb, nagyon erős Wankel-sportkocsit. Ezt aztán olyan áron kínálhatnák, ami miatt legfeljebb néhány százat venne fel a piac. Ez azonban a Mazda anyagi helyzete mellett olyan luxus, amit aligha engedhetnek meg maguknak. Ráadásul az Euro 7 2025-6 környéki vevezetése előtt kellene ezt meglépniük, utána szinte biztosan lehetetlen volna a Wankellel hozni a határértékeket.
Magyarán sok esély nincs rá, hogy készüljön egy ilyen szériamodell, de a Mazda esetében azért nem mernénk azt mondani, hogy lehetetlen.










