Bár éveken keresztül pletykáltak egy Apple autóról, és a fejlesztésére eltapsolt dollármilliárdokról, úgy tűnik, abból nemigen lesz semmi. A számítástechnikai óriás ugyanakkor autóipari beszállítóként már most sem jelentéktelen és úgy tűnik, olyan ötleteket is szabadalmaztattak, amelyek sokkal később jöhetnek jól.
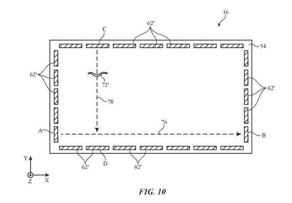
Ilyen az a szabadalom is, amelyet mostanság fedezett fel a sajtó: ez kifejezetten autókba szánt ablaküvegek sérülésjelzésére alkalmas megoldást taglal. A lényeg viszonylag egyszerű: egy elektromos vezetőként viselkedő réteget építenek az amúgy is réteges szerkezetű biztonsági üvegbe, és a réteg szélén elhelyezett elektródák között mérik az ellenállást. Ezzel kimutatható, ha az üveg sérül, hiszen ilyenkor a vezetőréteg ellenállása is megváltozik.
Azt persze az Apple-nél is tudják, hogy egy üvegsérülést általában vizuálisan is észlel az autó gazdája, de úgy tűnik, egy olyan jövőben látják hasznosnak a szabadalmat, amelyben az autók önvezetési képességeik révén maguk diagnosztizálnák és javíttatnák a hibáikat. Ha tényleg lesz ilyen, talán az Apple okos ablaka is szerephez juthat majd.









