A genfi RX-Vision tanulmány bemutatása után nem akkora meglepetés, hogy a Mazda ismét Wankel-motor fejlesztésébe fogott. Az viszont új információ, hogy visszatérnek a turbófeltöltéshez, amelyet az RX-7-es három generációján alkalmaztak már.
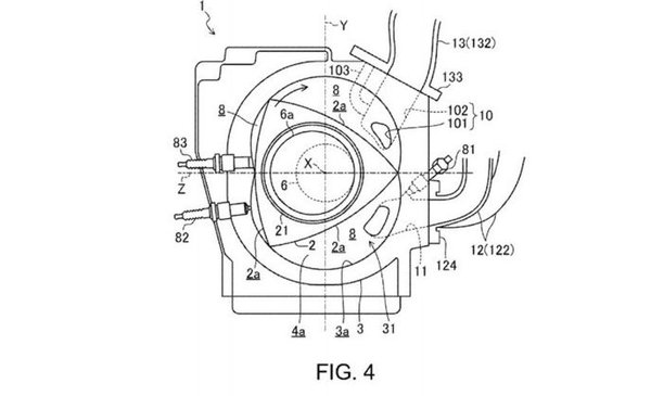
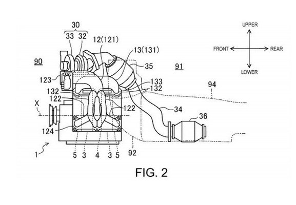
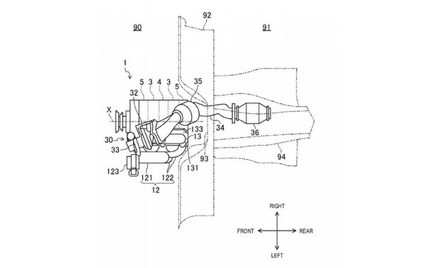
Maga a Mazda fejlesztési igazgatója, Kiyoshi Fujiwara is csak feltételes módban beszélt a Wankel-fejlesztések lehetséges irányáról. A bolygódugattyús motor jelentős benzin- és olajfogyasztásával nem igazán illeszkedik az aktuális, alacsony szén-dioxid- és károsanyag-kibocsátást előtérbe helyező motorfejlesztési trendekhez, így szükség lesz valamiféle trükkre, hogy javítsanak a hatékonyságán. A szabadalmi vázlatok alapján ez a turbófeltöltés lesz, amit az RX-8-asban alkalmazott Renesis motoron hagytak el – akkor úgy tűnt, akár végleg. További újítás, hogy az új Wankelt magasra helyezett turbófeltöltővel és kipufogónyílásokkal készítenék, és a korábbiakhoz képest 180 fokkal elfordítva kerülne az autóba.
Nem kizárt persze, hogy a turbós Wankel-motort hibrid hajtásláncba építik, így tovább csökkenthetik az átlagfogyasztását, bár a Mazda eddig kevés jelét mutatta, hogy foglalkozna hibrid hajtásrendszerek fejlesztésével. A fejlesztési igazgató szerint egyébként a turbófeltöltés is komplikálttá és drágává teheti a gyártást, márpedig úgy tűnik, a Mazdánál jelenleg nemigen akad forrás olyan típusok fejlesztésére, amelyek nem kecsegtetnek profittal.
Pedig a következő Wankel-sportkocsi bemutatására több alkalom is adódna a következő évek során, hisz 2017-ben lesz épp ötven éve, hogy a Mazda gyártani kezdte első bolygódugattyús motorral hajtott autóját, 2018-ban pedig az RX-7 bemutatásának negyvenedik évfordulóját ünnepelheti a cég egy esetleges új autóval. Ám mindezek ellenére sem biztos, hogy az RX-Vision megvalósulhat, ugyanis korántsem biztos, hogy képesek olyan autót készíteni, amely egyszerre felel meg az összes környezetvédelmi és fogyasztási normának, és eközben még nyereséget is hozhat.










