Nem tudni, hogy csak egy tetszetős ötlet, amelyet nem szeretnének másnak átengedni, vagy tényleg kifejlesztik, mindenesetre a Hyundai az Egyesült Államokban már szabadalmi védelmet kért az összecsukódó kisautóra.
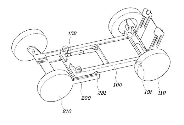
A szerkezet egész elmésnek tűnik a rajzok alapján: a lényege, hogy az autó egy teleszkóp-szerűen összecsúsztatható keretre épül, így az autó hossza nagyjából a kétharmadára csökkenthető, a tető és a szélvédő lefelé csuklik be a karosszériába, a hátsó felépítmény pedig rábillen az egész szerkezetre, így az összecsukott autó teljesen zárt egységet képez. Az ötlet egyértelmű előnye az volna, hogy az eleve Smart-szerűen rövid autó így keresztben sem lógna ki egy szabvány parkolóhelyről, viszont a vázlatok alapján az az érzésünk, akad még megoldásra váró probléma. Ilyen, hogy az összecsukható kisautónak nincs ajtaja, és nem is nagyon látszik, hogy hol férne el benne bármiféle oldalsó nyílászáró, azaz ebben a formájában legfeljebb igazán meleg éghajlaton vehetnék hasznát.
Az sem lehetetlen persze, hogy a tervezők sem teljes értékű autókba szánnák a szokatlan műszaki megoldást, hanem mondjuk apró golfkocsikat készítenének így, ahol eleve nem követelmény a zárt felépítmény, az összecsukhatóság pedig feleslegessé tenné a járművek zárt helyen való tárolását. Az viszont biztos, hogy ha elkészülnek egy ilyen négykerekűvel, azt biztosan nem tartják titokban.








![Der neue Mercedes-Benz C 400 4MATIC elektrisch. Energieverbrauch kombiniert: 18,6-14,2 kWh/100 km | CO₂-Emissionen kombiniert: 0 g/km | CO₂-Klasse: A [1] Exterieur: AMG Line; MANUFAKTUR opalithweiß metallic bright [1] Die Angaben sind vorläufig. Es liegen bislang weder bestätigte Werte von einer amtlich anerkannten Prüforganisation noch eine EG-Typgenehmigung noch eine Konformitätsbescheinigung mit amtlichen Werten vor. Abweichungen zwischen den Angaben und den amtlichen Werten sind möglich. //The all-new Mercedes-Benz C 400 4MATIC electric. Energy consumption combined: 18,6-14,2 kWh/100 km | CO₂ emissions combined: 0 g/km | CO₂ class: A [1] Exterior: AMG Line; MANUFAKTUR opalithe white bright [1] The information is provisional. Neither confirmed values from an officially recognised testing organisation nor an EC type approval nor a certificate of conformity with official values are available to date. Deviations between the data and the official values are possible.](/media/images/Original-50543-26c0043-001.format-jpeg.max-370x278.jpg)
