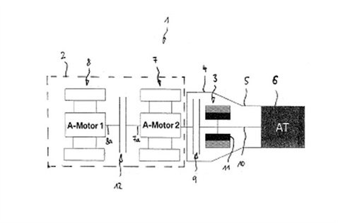
A fura elképzelést épp most próbálja szabadalmaztatni az autógyártó. A lényeg, hogy az autót két, szükség szerint bekapcsolható belsőégésű motor és egy villanymotor együtt hajtaná, mindig csak annyi nyomatékot és teljesítményt biztosítva, amennyire épp szükség van.

A szabadalmi leírás többféle variációt is tartalmaz: az egyik szerint két egyforma, kéthengeres motort, a másik szerint egy két- és egy négyhengerest használnának. Az alapelv azonban ugyanaz: alaphelyzetben csak a villanymotor és az egyik belsőégésű motor hajt, a másikat csak akkor kapcsolják be, ha nagyobb teljesítményre van szükség. Az össze- vagy szétkapcsolás alatt előforduló esetleges nyomaték-hiányt a villanymotorral egyenlítenék ki, azaz az átmenetet az autó utasai elvben meg sem éreznék.
Az ötlet elvben javíthatja a hajtáslánc hatékonyságát, de ahhoz, hogy sorozatgyártásra éretté tegyék, még alaposan ki kell dolgozni a részleteket. A legnehezebb feladat nyilván a zökkenőmentes működés elérése lesz, hiszen tökéletesen össze kell hangolni a három motort ahhoz, hogy a rendszer a folyamatosság érzését keltse, és valóban hatékonyabb legyen, mint a mai hibrid megoldások. Az ilyen típusú rendszerek persze sokat fejlődtek az elmúlt években a hibrid hajtáslánc és a stop-start rendszerek elterjedésével, de három a három motor együttes működését összehangoló program megalkotása így sem lesz egyszerű.
Ha a BMW sikerrel jár, akkor könnyen készíthetnek olyan, igen nagy teljesítményű típusokat, amelyek takarékos stílusban hajtva mégis igen takarékosak lehetnek.




![Der neue Mercedes-Benz C 400 4MATIC elektrisch. Energieverbrauch kombiniert: 18,6-14,2 kWh/100 km | CO₂-Emissionen kombiniert: 0 g/km | CO₂-Klasse: A [1] Exterieur: AMG Line; MANUFAKTUR opalithweiß metallic bright [1] Die Angaben sind vorläufig. Es liegen bislang weder bestätigte Werte von einer amtlich anerkannten Prüforganisation noch eine EG-Typgenehmigung noch eine Konformitätsbescheinigung mit amtlichen Werten vor. Abweichungen zwischen den Angaben und den amtlichen Werten sind möglich. //The all-new Mercedes-Benz C 400 4MATIC electric. Energy consumption combined: 18,6-14,2 kWh/100 km | CO₂ emissions combined: 0 g/km | CO₂ class: A [1] Exterior: AMG Line; MANUFAKTUR opalithe white bright [1] The information is provisional. Neither confirmed values from an officially recognised testing organisation nor an EC type approval nor a certificate of conformity with official values are available to date. Deviations between the data and the official values are possible.](/media/images/Original-50543-26c0043-001.format-jpeg.max-370x278.jpg)
![Der neue Mercedes-Benz C 400 4MATIC elektrisch. Energieverbrauch kombiniert: 18,6-14,2 kWh/100 km | CO₂-Emissionen kombiniert: 0 g/km | CO₂-Klasse: A [1] Exterieur: AMG Line; MANUFAKTUR opalithweiß metallic bright [1] Die Angaben sind vorläufig. Es liegen bislang weder bestätigte Werte von einer amtlich anerkannten Prüforganisation noch eine EG-Typgenehmigung noch eine Konformitätsbescheinigung mit amtlichen Werten vor. Abweichungen zwischen den Angaben und den amtlichen Werten sind möglich. //The all-new Mercedes-Benz C 400 4MATIC electric. Energy consumption combined: 18,6-14,2 kWh/100 km | CO₂ emissions combined: 0 g/km | CO₂ class: A [1] Exterior: AMG Line; MANUFAKTUR opalithe white bright [1] The information is provisional. Neither confirmed values from an officially recognised testing organisation nor an EC type approval nor a certificate of conformity with official values are available to date. Deviations between the data and the official values are possible.](/media/images/Original-50535-26c0043-009_resul_ULLMk3t.format-jpeg.max-370x278.jpg)

