Néhány kiszivárogtatott skicc alapján úgy tűnik, a Ferrari valamiféle új, eddig soha nem látott megoldáson töri a fejét.
A Lamborghinik felfelé nyíló ajtaját scissor doornak, vagyis olló ajtónak nevezi a szaksajtó, az SLS Mercedes féle megoldást gullwingnek, vagyis sirályszárnynak. Annak idején a Lincoln vezette be a találó módon suicide doornak, vagyis öngyilkos ajtónak nevezett visszafelé nyíló kocsiajtót, amilyet például a Mazda RX-8-ason is láthatunk. Néhány kiszivárogtatott skicc alapján úgy tűnik, a Ferrari valamiféle új, eddig soha nem látott megoldáson töri a fejét.
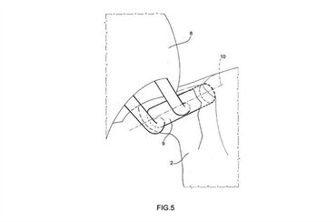
A rajzok alapján arra lehet következtetni, hogy a Ferrari egy hibrid megoldáson töri a fejét, mely a sirályszárny és a Lambó ajtó keveréke. Az ajtónak egészen különleges formája van, hosszan előrenyúlik, valószínűleg azért, hogy több hely legyen a ki- és beszállásnál. Pontosan nehéz lenne megmondani, hogyan fog működni az új ajtó, de a skiccen látható zsanér alapján nagyon valószínű, hogy a jövőben láthatunk majd függőlegesen nyíló ajtajú Ferrarit.












