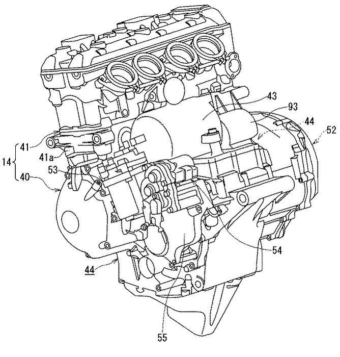
Érdekes terveket szabadalmaztatott Japánban a Suzuki. A motorkerékpár-gyártó ugyanis egy hibrid gépen dolgozik, amelynek sornégyesét egy villanymotorral is megtoldották. Mindehhez ráadásul félautomata váltót csatoltak.
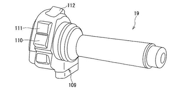
Az elektromotor funkcióját a jobb oldali markolat mellett elhelyezett kapcsolóval lehet változtatni. Lesz lehetőségünk arra, hogy tisztán elektromos üzemben használjuk a gépet, de a benzinmotort is kisegítheti a villanyhajtású egység. Sőt, adott esetben akár generátorként is működhet.
A koncepció másik érdekessége a félautomata váltó. A fokozatokat ugyanis kuplungolás nélkül kapcsolgathatjuk, a rendszert a Transmission Control Unit (TCU) nevű elektronika felügyeli. Ez a központi vezérlőegység segítségével szükség esetén vissza is veszi a gázt, a motorosnak csak a váltót kell kezelnie.
A szabadalmi hivatalhoz benyújtott rajzok alapján a japán gyártó sportmotoron vagy sportos nakeden alkalmazná először ezeket a megoldásokat, azonban az még kérdéses, hogy pontosan melyik gépről is lehet szó. Nem kizárt, hogy a GSX-R1000-ből terveznek egy hibrid változatot, de az is könnyen előfordulhat, hogy csupán illusztrációként használtak arra emlékeztető ábrákat.







![Der neue Mercedes-Benz C 400 4MATIC elektrisch. Energieverbrauch kombiniert: 18,6-14,2 kWh/100 km | CO₂-Emissionen kombiniert: 0 g/km | CO₂-Klasse: A [1] Exterieur: AMG Line; MANUFAKTUR opalithweiß metallic bright [1] Die Angaben sind vorläufig. Es liegen bislang weder bestätigte Werte von einer amtlich anerkannten Prüforganisation noch eine EG-Typgenehmigung noch eine Konformitätsbescheinigung mit amtlichen Werten vor. Abweichungen zwischen den Angaben und den amtlichen Werten sind möglich. //The all-new Mercedes-Benz C 400 4MATIC electric. Energy consumption combined: 18,6-14,2 kWh/100 km | CO₂ emissions combined: 0 g/km | CO₂ class: A [1] Exterior: AMG Line; MANUFAKTUR opalithe white bright [1] The information is provisional. Neither confirmed values from an officially recognised testing organisation nor an EC type approval nor a certificate of conformity with official values are available to date. Deviations between the data and the official values are possible.](/media/images/Original-50543-26c0043-001.format-jpeg.max-370x278.jpg)
![Der neue Mercedes-Benz C 400 4MATIC elektrisch. Energieverbrauch kombiniert: 18,6-14,2 kWh/100 km | CO₂-Emissionen kombiniert: 0 g/km | CO₂-Klasse: A [1] Exterieur: AMG Line; MANUFAKTUR opalithweiß metallic bright [1] Die Angaben sind vorläufig. Es liegen bislang weder bestätigte Werte von einer amtlich anerkannten Prüforganisation noch eine EG-Typgenehmigung noch eine Konformitätsbescheinigung mit amtlichen Werten vor. Abweichungen zwischen den Angaben und den amtlichen Werten sind möglich. //The all-new Mercedes-Benz C 400 4MATIC electric. Energy consumption combined: 18,6-14,2 kWh/100 km | CO₂ emissions combined: 0 g/km | CO₂ class: A [1] Exterior: AMG Line; MANUFAKTUR opalithe white bright [1] The information is provisional. Neither confirmed values from an officially recognised testing organisation nor an EC type approval nor a certificate of conformity with official values are available to date. Deviations between the data and the official values are possible.](/media/images/Original-50535-26c0043-009_resul_ULLMk3t.format-jpeg.max-370x278.jpg)

