Belsőség mazda 2016. 09. 20. 19:15 Wankelmebaj Lexus GS-ből driftautó? Igen, 1000 lóerős, négyrotoros, nitrós Wankellel a Mazdától.
Hírek mazda 2016. 04. 07. 08:14 Turbós Wankel-motoron dolgozik a Mazda Ez már nem csupán pletyka, a japán cég szabadalmi kérelmet is benyújtott az új fejlesztések kapcsán.
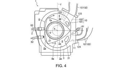
Hírek mazda 2016. 02. 06. 10:16 Turbóval jöhet az új Mazda-Wankel Méghozzá kapásból kettővel. 450 lóerőt tudna, és a kibocsátási normákkal sem lenne gondja.
Hírek mazda 2015. 09. 22. 08:11 Mazda: a Wankel még nem halott Igaz, hogy nem túl nagy erőforrásokkal, de állítólag még fejlesztik a bolygódugattyús motort a japán cégnél.
Belsőség v8 2015. 06. 22. 15:58 A trollkirály V8-cal érkezik Leborulok, zokogok és megadom a trollkodás brilliánsokkal díszített aranyfokozatát.
Belsőség mazda 2009. 05. 26. 09:38 Wankel, de meddig? Remélem, kevesen olvassák majd ezt a blogposzt, mert bálványdöngetésbe hajlik a mondanivalóm, és igazából nem akarok senkinek rosszat.
Belsőség belsoseg 2009. 12. 12. 20:30 Mindent az RX-8-ról A Wankel-motor bazi érdekes, még ha vannak kétségeink is a jövőjét illetően.
Belsőség mazda 2014. 01. 04. 19:36 A barna RX-7-es korábbi kalandjai A hevesi RX-7-es korábban Kecskeméten lakott, de Szolnokra már nem jutott el, mert kifogyott belőle a benzin.
Hírek v8 2015. 02. 11. 19:04 És akkor az igazán fontos hírek mára Unják már a hivatalos kommünikéket? Ásítozik a semmitmondó katalógusadatokon? Úgy érzi, nincs már anyag a mai autóiparban? Téved, itt vannak az igazán fontos hírek a mai napra.
Hírek mazda 2014. 02. 15. 19:06 Feltámad az RX-7? A legendás sportkocsival együtt a már sokszor temetett Wankel-motor is visszatérhet.
Videó & Podcast mazda 2013. 12. 04. 21:57 Mazda RX-7, amin nem fog az idő A fene sem gondolta volna, hogy egy 30 éves autóhoz csupán annyi instrukciót kapunk, hogy ne forgassuk hétezer fölé.