Totalbike honda 2025. 12. 31. 11:33 Beavatkozhat a technológia a kormányzásba? Motoron aligha! A Honda azért szabadalmi szinten kísérletezget vele, hogy mi történik, ha aktívan felülírja az elektronika a motor vezetőjének döntését.
Hírek ford 2024. 07. 04. 18:31 A Mustangok maguktól elfordíthatják a kormányt, visszahívást rendelt el a Ford A veszélyesnek tűnő probléma közel 31 ezer autót érinthet. Ez a Ford 32. visszahívása idén.
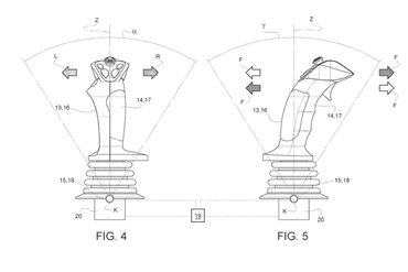
Hírek ferrari 2023. 11. 25. 17:50 A Ferrari joystickkal vezethető járművet szabadalmaztatott Bármennyire is állítják, nem ők az elsők.
Magazin volvo trucks 2013. 11. 14. 15:53 Kamionok között spárgában Ha tényleg igazi a felvétel, akkor az öreg harcos még 50 felett is jól nyomja.
Tanácsok nepper 2014. 06. 23. 16:44 Normális kormányzású fiatalt Eddig Focusom volt, ennél nem szeretnék rosszabbat, és lassabbat sem.
Hírek toyota 2011. 07. 26. 09:53 Helyettünk kormányoznak a jövő Toyotái Vészhelyzetben nem csak a féket nyomkodja automatikusan az új biztonsági rendszer.