A Volkswagen pár éve kitalálta, hogy sokkal jobb egy autó beltere, ha csak minimális mennyiségű fizikai gombot tartalmaz. A végeredmény nem lett zajos siker, a felhasználók nem voltak oda a nehézkesen használható, kompromisszumos megoldásért.
Végül a VW is elismerte, hogy ez nem jó irány, hallgattak a felhasználókra, így hát azt ígérték, hogy visszatérnek a hagyományos gombokhoz. De úgy tűnik, hogy a konszernnél nem bírnak magukkal: elképzelhető, hogy kinyírnák az indexkart.
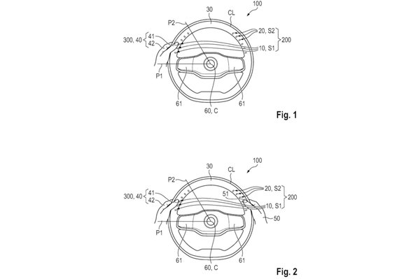
Mindezt egy szabadalom alapján lehet sejteni, ami egyelőre még nem jelenti azt, hogy végül biztosan valósággá válik majd az elképzelés. A szabadalom szerint a hagyományos kar helyett a kormányról lehetne kiválasztani, hogy melyik oldalon villogjon az irányjelző. Egyelőre más részlet nem derült ki, így például nem tudjuk, hogy érintőfelületben, vagy esetleg gombokban gondolkodnak.
Ez az ötlet azért nem tűnik jó megoldásnak, mivel sok olyan eset adódik, amikor a kormány nem áll teljesen egyenesen, amikor indexelni szeretne valaki, és ilyenkor a kormánnyal együtt forgó kapcsolók nem biztos, hogy egyszerűen kézre esnek. Szemben a karral, ami a kormánytól függetlenül fix pozícióban marad, nem kell gondolkodni rajta, hogy hol járhat épp.
A megoldás nem új, ugyanis nem a Volkswagen az első gyártó, ami ilyesmiben gondolkodik: például a Tesla és a Ferrari már megcsinálta, mindkét gyártó gombokat használ kar helyett. A tapasztalatok azonban azt mutatják, hogy se az amerikai, se az olasz gyártó megoldása nem tartozik a legpraktikusabbak közé.
Forrás: CarBuzz









