Ha valaki házi kedvencet tart, szerencsés esetben azért teszi, mert szereti, és élvezi a vele töltött időt. Ebbe nyilván beletartozik a sétáltatás is. Mégis vannak, akiknek ez az egész csak nyűg, vagy éppen bizonyos élethelyzetekben, nehezebb napokon nincs kedvük a megszokott sétához. Nekik segítene új szabadalmával a Toyota.
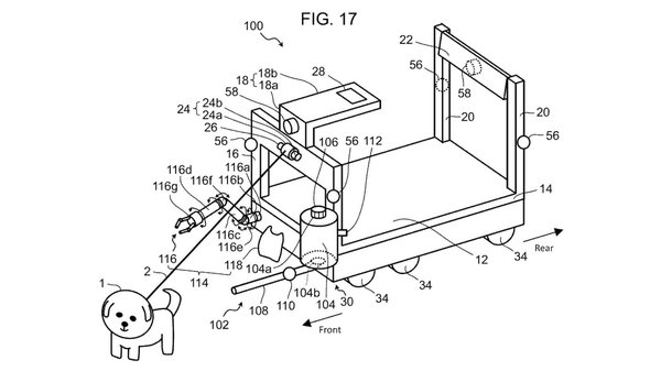
Ez egy meglehetősen szokatlan koncepció, a rajzokon egy bevásárlókocsihoz hasonló szerkezetet láthatunk, előtte pedig egy vidám kiskutyát. Ez a valami egy önvezető jármű, amely előreprogramozott útvonalon tudja kísérni a négylábút, közben tartja is mögötte a távolságot, tehát nem vasalja ki Fifikét, ha megállna szaglászni. Ha a kutyus unja meg a gyaloglást, felugorhat a platformra, vagy akár a gazdi is kísérheti onnan – ez elsősorban mozgáskorlátozottak számára lehet hasznos.
Aki sétáltatott már kutyát, pontosan tudja, hogy néha a legjobban nevelt kedvencekkel is előfordulhat, hogy valamilyen inger hatására megpróbálnak gyorsítani, húznak egy kicsit vagy akár el is szaladnának. Erre is van megoldása a Toyotának: „fegyelmező módban” ugyanúgy rövidebbre fogja a pórázt a szerkezet, mintha egy szigorú gazdi tenné ugyanezt.
És mi az, ami még egy séta során szinte törvényszerűen bekövetkezik? Hogy a kutya könnyít magán. Ezt a helyzetet is képes kezelni a sétáltatógép: kamerák segítségével figyeli és megtanulja az állat mozgását, tehát be tudja azonosítani, hogy pisi vagy kaki volt-e éppen. Előbbi esetben vízpermetet céloz az érintett területre, nagydolog után pedig összeszedi a kutyagumit. A kamerafelvétel pedig bizonyítja, hogy nem egy véletlenszerűen kiválasztott blöki után kanalazta fel a végterméket, hanem a sajátunkét hozta haza.
Egyelőre nem tudni, mikor juthat el sorozatgyártásig a megoldás, de azért azt javasolnánk, hogy aki teheti, inkább személyes valójában kísérje el kedvencét. Az sem biztos továbbá, hogy pont úgy fog kinézni az eszköz, mint a rajzokon, hiszen előfordulhat, hogy ezek csak a működést szemléltetik.










